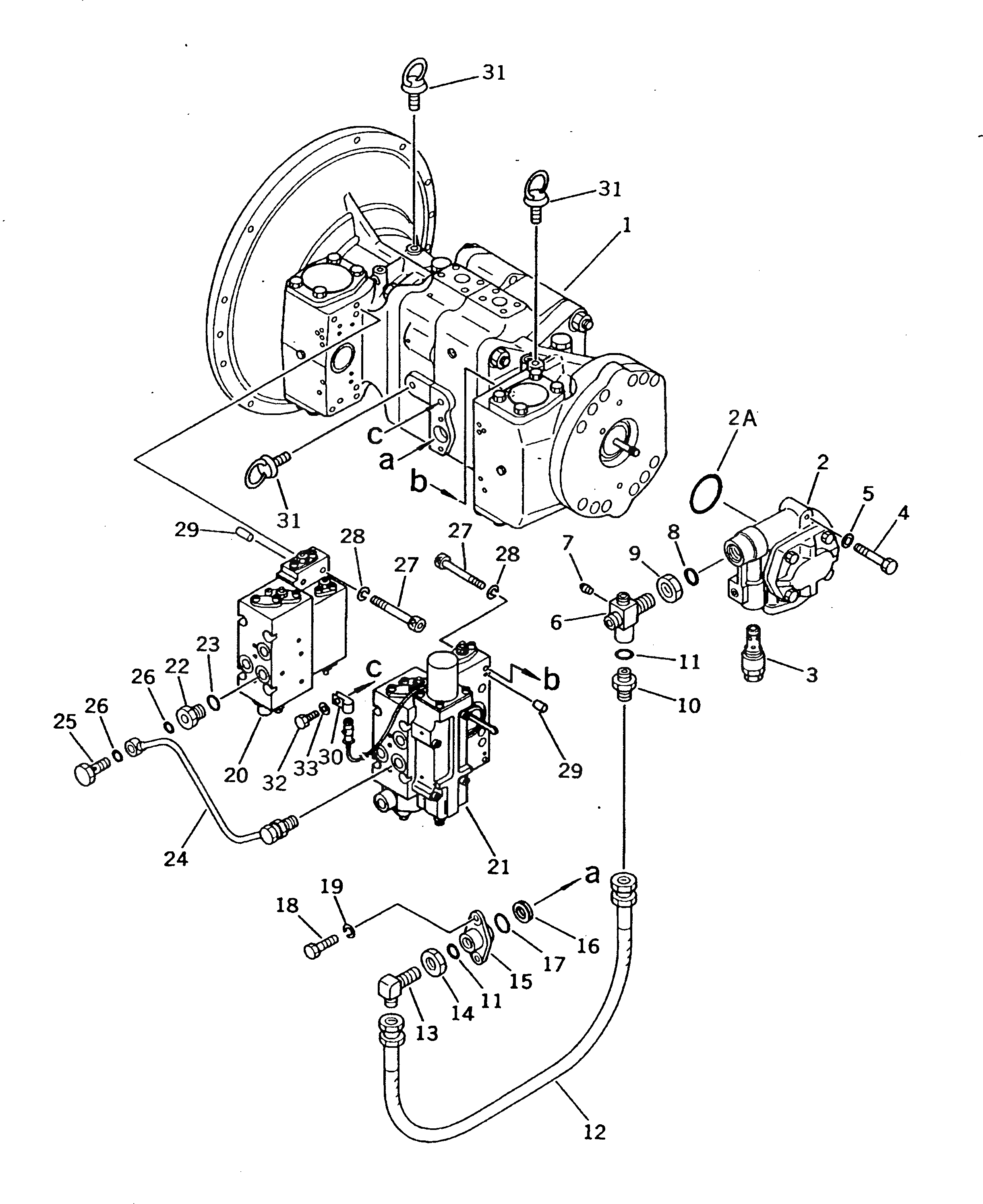
Запчасти Komatsu PW200-1 ОСНОВН. НАСОС (/) ОСНОВН. КОМПОНЕНТЫ И РЕМКОМПЛЕКТЫ

Схема запчастей Komatsu PW200-1 - ОСНОВН. НАСОС (/) ОСНОВН. КОМПОНЕНТЫ И РЕМКОМПЛЕКТЫ
FIT
1:1
100%

Артикул

Название

Примечание

Количество

|1

708-25-02071

PUMP ASS'Y

|1

708-25-02070

PUMP ASS'Y

1

708-25-01250

PUMP SUB ASS'Y

2

704-24-28203

PUMP ASS'Y

|2

704-24-28202

PUMP ASS'Y

2A

704-28-02710

O-RING

3

708-25-14902

RELIEF VALVE ASS'Y

|3

708-25-14900

RELIEF VALVE ASS'Y

4

01010-81260

BOLT

5

01643-31232

WASHER,SPRING

6

708-25-19111

JOINT

7

07042-20108

PLUG

8

07002-02434

O-RING

9

07239-12410

NUT

10

07230-20422

UNION

|10

07230-10422

UNION

11

07002-02034

O-RING

12

07102-20404

HOSE

13

07232-30422

ELBOW

|13

07232-20422

ELBOW

14

07239-12009

NUT

15

708-25-19120

FLANGE

16

720-68-15240

FILTER

17

07000-02021

O-RING

18

01010-80820

BOLT

19

01602-20825

WASHER,SPRING

20

708-25-07111

SERVO VALVE ASS'Y,FRONT

21

708-25-07421

SERVO VALVE ASS'Y,REAR

|21

708-25-07420

SERVO VALVE ASS'Y,REAR

22

706-46-53260

PLUG

23

07002-01423

O-RING

24

708-25-19140

TUBE

25

706-46-53180

BOLT,JOINT

26

07000-02012

O-RING

27

708-25-19130

BOLT

28

01602-20825

WASHER

29

04020-00616

PIN,DOWEL

30

08036-21814

CLIP

31

04530-01018

BOLT,EYE

32

01010-81016

BOLT

33

01643-31032

WASHER

Выбрано товаров: 0