Запчасти Komatsu PW200-1 ОСНОВН. НАСОС (/) ОСНОВН. КОМПОНЕНТЫ И РЕМКОМПЛЕКТЫ

Схема запчастей Komatsu PW200-1 - ОСНОВН. НАСОС (/) ОСНОВН. КОМПОНЕНТЫ И РЕМКОМПЛЕКТЫ
FIT
1:1
100%

Артикул

Название

Примечание

Количество

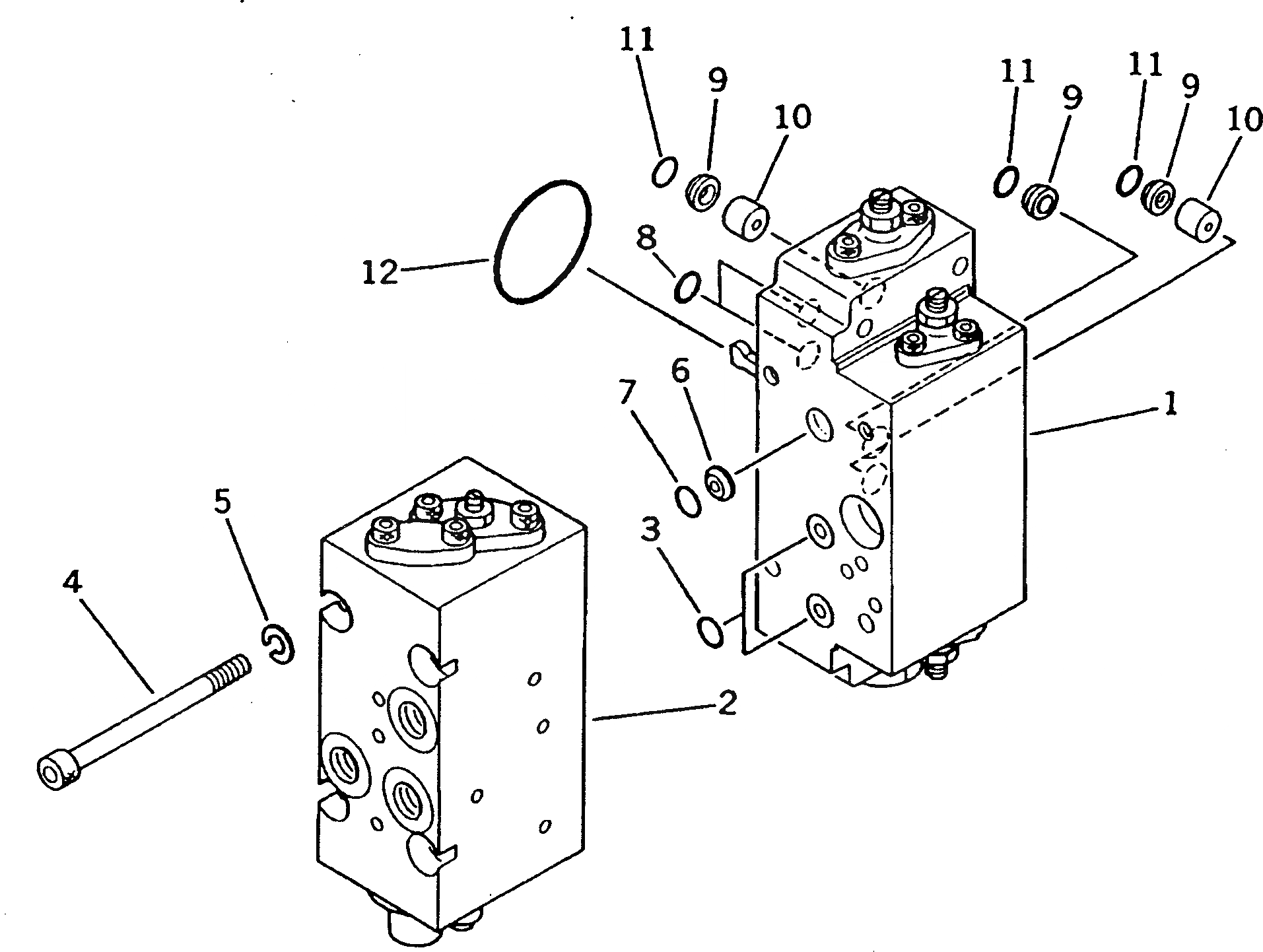
|1

708-25-02071

PUMP ASS'Y

|1

708-25-02070

PUMP ASS'Y

|1

708-25-07111

SERVO VALVE ASS'Y

1

708-25-15200

VALVE SUB ASS'Y

2

708-25-07511

VALVE ASS'Y

3

07000-02011

O-RING

4

708-25-19160

BOLT

5

01602-20825

WASHER,SPRING

6

720-68-11920

FILTER

7

07000-12010

O-RING

8

07000-11009

O-RING

9

720-68-11920

FILTER

10

708-25-19150

ORIFICE

11

07000-12010

O-RING

12

07000-03048

O-RING

Выбрано товаров: 15