Запчасти Komatsu PW200-1 ОСНОВН. НАСОС (7/) ОСНОВН. КОМПОНЕНТЫ И РЕМКОМПЛЕКТЫ

Схема запчастей Komatsu PW200-1 - ОСНОВН. НАСОС (7/) ОСНОВН. КОМПОНЕНТЫ И РЕМКОМПЛЕКТЫ
FIT
1:1
100%

Артикул

Название

Примечание

Количество

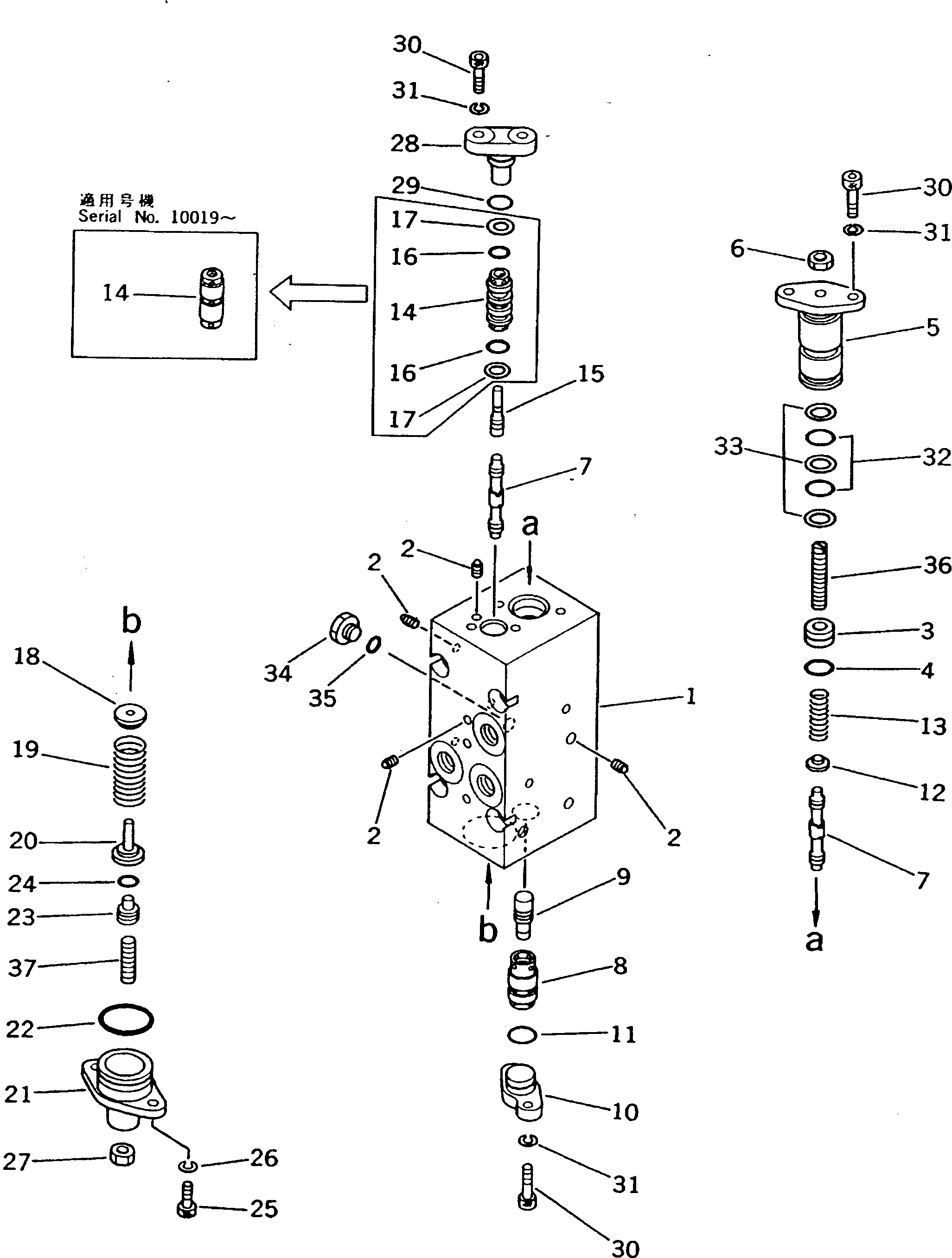
|1

708-25-02071

PUMP ASS'Y

|1

708-25-02070

PUMP ASS'Y

|1

708-25-07111

SERVO VALVE ASS'Y

|1

708-25-07511

VALVE ASS'Y

|1

708-23-07032

BODY ASS'Y

1

BODY

2

EXPANDER

3

708-25-17420

PLUG

4

07000-02010

O-RING

5

708-25-17131

COVER

6

01580-10806

NUT

7

708-25-17141

SPOOL

|7

708-25-17140

SPOOL

8

708-25-17150

SLEEVE

9

708-25-17160

PISTON

10

708-25-17170

COVER

11

07000-02014

O-RING

12

708-25-17180

SEAT

13

708-25-17190

SPRING

14

708-25-17211

SLEEVE

|14

708-25-17210

SLEEVE

15

708-25-17220

PISTON

16

07000-12012

O-RING

17

07001-02012

RING,BACK-UP

18

708-25-17370

SEAT

19

708-25-17250

SPRING

20

708-25-17260

SEAT

21

708-25-17350

COVER

22

07000-03028

O-RING

23

708-25-17410

PLUG

24

07000-01009

O-RING

25

708-25-15320

BOLT

26

01602-20619

WASHER,SPRING

27

01580-10806

NUT

28

708-25-17230

COVER

29

07000-02012

O-RING

30

708-25-15320

BOLT

31

01602-20619

WASHER,SPRING

32

07000-12021

O-RING

33

07001-02021

RING,BACK-UP

34

07040-11007

PLUG

35

07002-01023

O-RING

36

708-25-17430

SCREW

37

708-25-15340

SCREW

Выбрано товаров: 0