Запчасти Komatsu PW200-1 ОСНОВН. НАСОС (8/) ОСНОВН. КОМПОНЕНТЫ И РЕМКОМПЛЕКТЫ

Схема запчастей Komatsu PW200-1 - ОСНОВН. НАСОС (8/) ОСНОВН. КОМПОНЕНТЫ И РЕМКОМПЛЕКТЫ
FIT
1:1
100%

Артикул

Название

Примечание

Количество

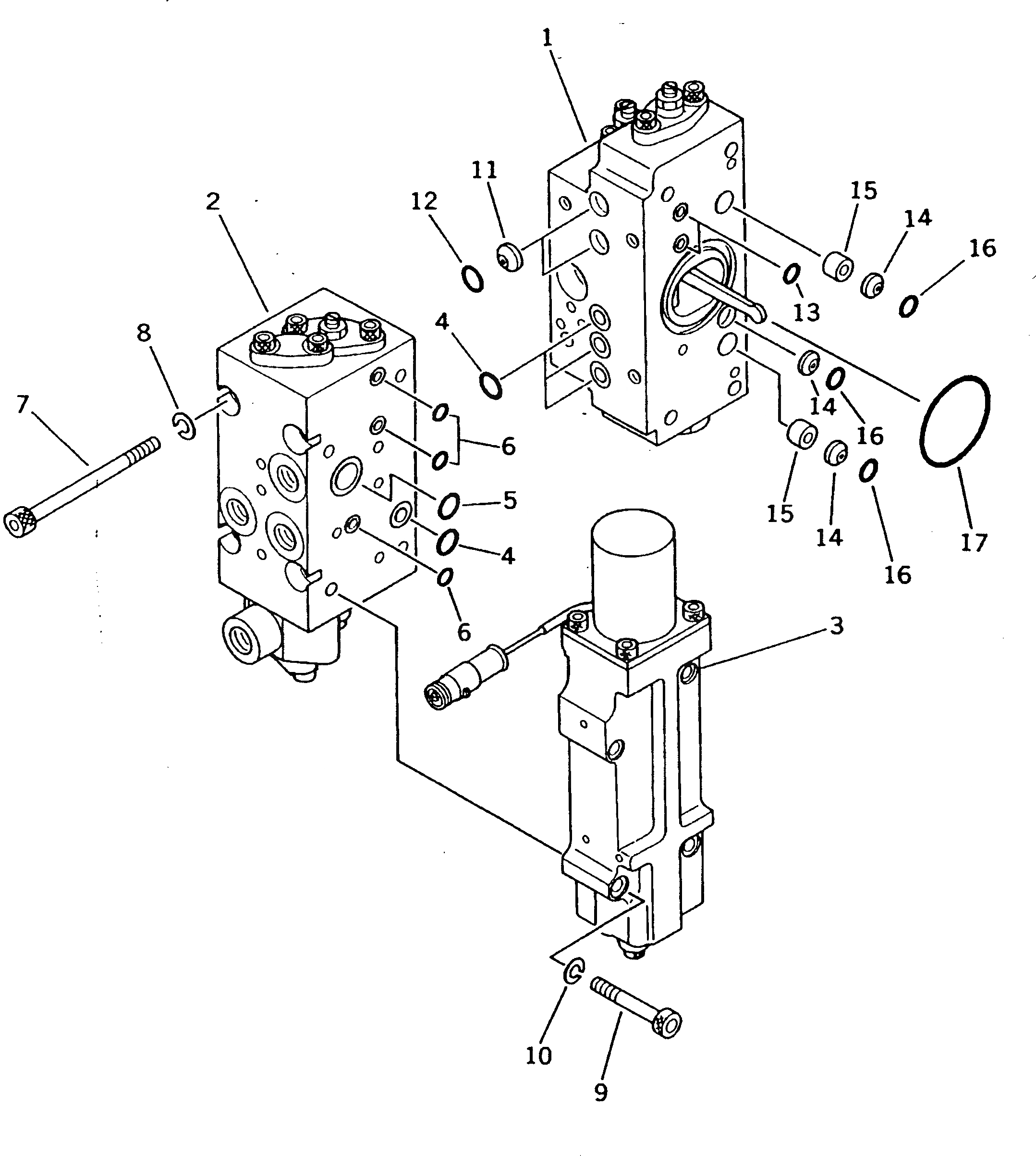
|1

708-25-02071

PUMP ASS'Y

|1

708-25-02070

PUMP ASS'Y

|1

708-25-07421

SERVO VALVE ASS'Y,REAR

|1

708-25-07420

SERVO VALVE ASS'Y,REAR

1

708-25-16200

VALVE ASS'Y

2

708-25-07620

VALVE ASS'Y

3

708-25-07720

VALVE ASS'Y

|3

708-25-18100

VALVE ASS'Y

4

07000-02011

O-RING

5

07000-02018

O-RING

6

07000-11009

O-RING

7

708-25-19160

BOLT

8

01602-20825

WASHER,SPRING

9

708-25-18130

BOLT

|9

708-25-19130

BOLT

10

01602-20825

WASHER,SPRING

11

720-68-11920

FILTER

12

07000-12010

O-RING

13

07000-11009

O-RING

14

720-68-11920

FILTER

15

708-25-19150

ORIFICE

16

07000-12010

O-RING

17

07000-03048

O-RING

Выбрано товаров: 23