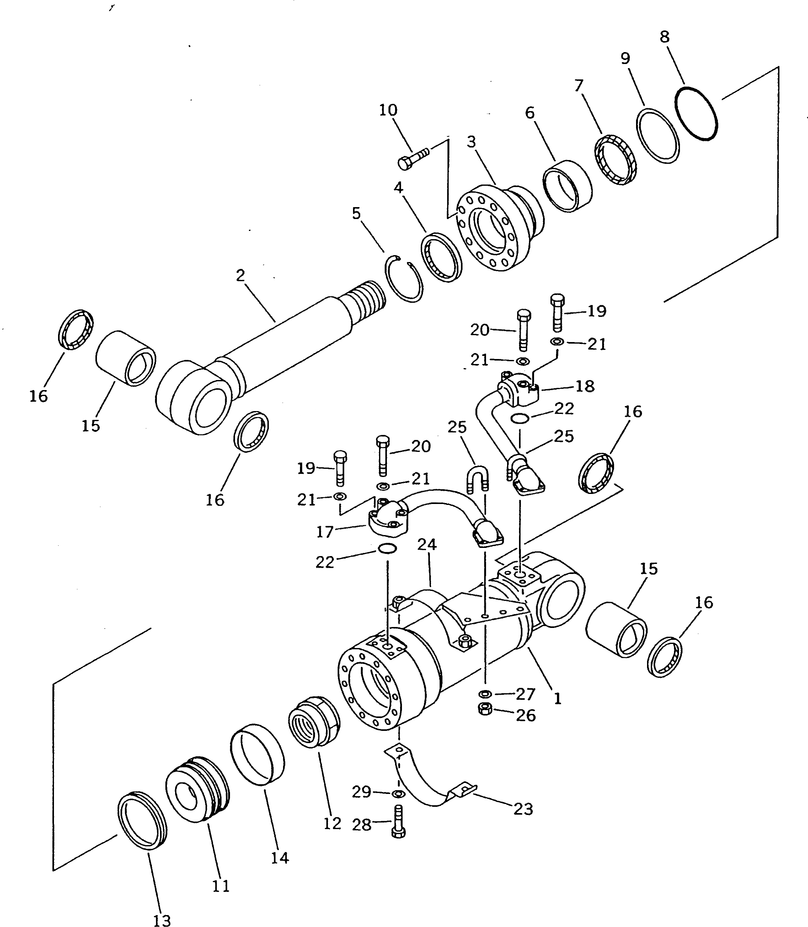
Запчасти Komatsu PW200-1 ЦИЛИНДР ОТВАЛА ОСНОВН. КОМПОНЕНТЫ И РЕМКОМПЛЕКТЫ

Схема запчастей Komatsu PW200-1 - ЦИЛИНДР ОТВАЛА ОСНОВН. КОМПОНЕНТЫ И РЕМКОМПЛЕКТЫ
FIT
1:1
100%

Артикул

Название

Примечание

Количество

G1

20K-63-X2040

CYLINDER GROUP,L.H.

G1

20K-63-X2050

CYLINDER GROUP,R.H.

|1

20K-63-02040

CYLINDER ASS'Y

1

20K-63-92140

CYLINDER

2

20K-63-92120

ROD

3

707-27-12470

HEAD,CYLINDER

4

707-56-85510

SEAL,DUST (KIT)

5

707-75-10020

RING,SNAP

6

707-52-10850

BUSHING

7

707-51-85211

PACKING,ROD (KIT)

8

07000-12115

O-RING (KIT)

9

707-35-91211

RING,BACK-UP (KIT)

10

01010-81655

BOLT

11

707-36-12360

PISTON

12

707-68-10580

NUT

13

707-44-12180

RING,PISTON (KIT)

14

07155-01230

RING,WEAR (KIT)

15

707-76-70100

BUSHING

16

07145-00070

SEAL,DUST (KIT)

17

20K-63-92170

TUBE,L.H.

|17

20K-63-92270

TUBE,R.H.

18

20K-63-92180

TUBE,L.H.

|18

20K-63-92280

TUBE,R.H.

19

01010-50840

BOLT

20

01010-50855

BOLT

21

01643-50823

WASHER

22

07000-13030

O-RING (KIT)

23

707-88-99210

BAND

24

20K-910-1320

BAND,L.H.

|24

20K-910-1330

BAND,R.H.

25

07283-22738

CLIP

26

01599-01011

NUT

27

01643-31032

WASHER

28

01010-51035

BOLT

29

01602-21030

WASHER

Выбрано товаров: 35