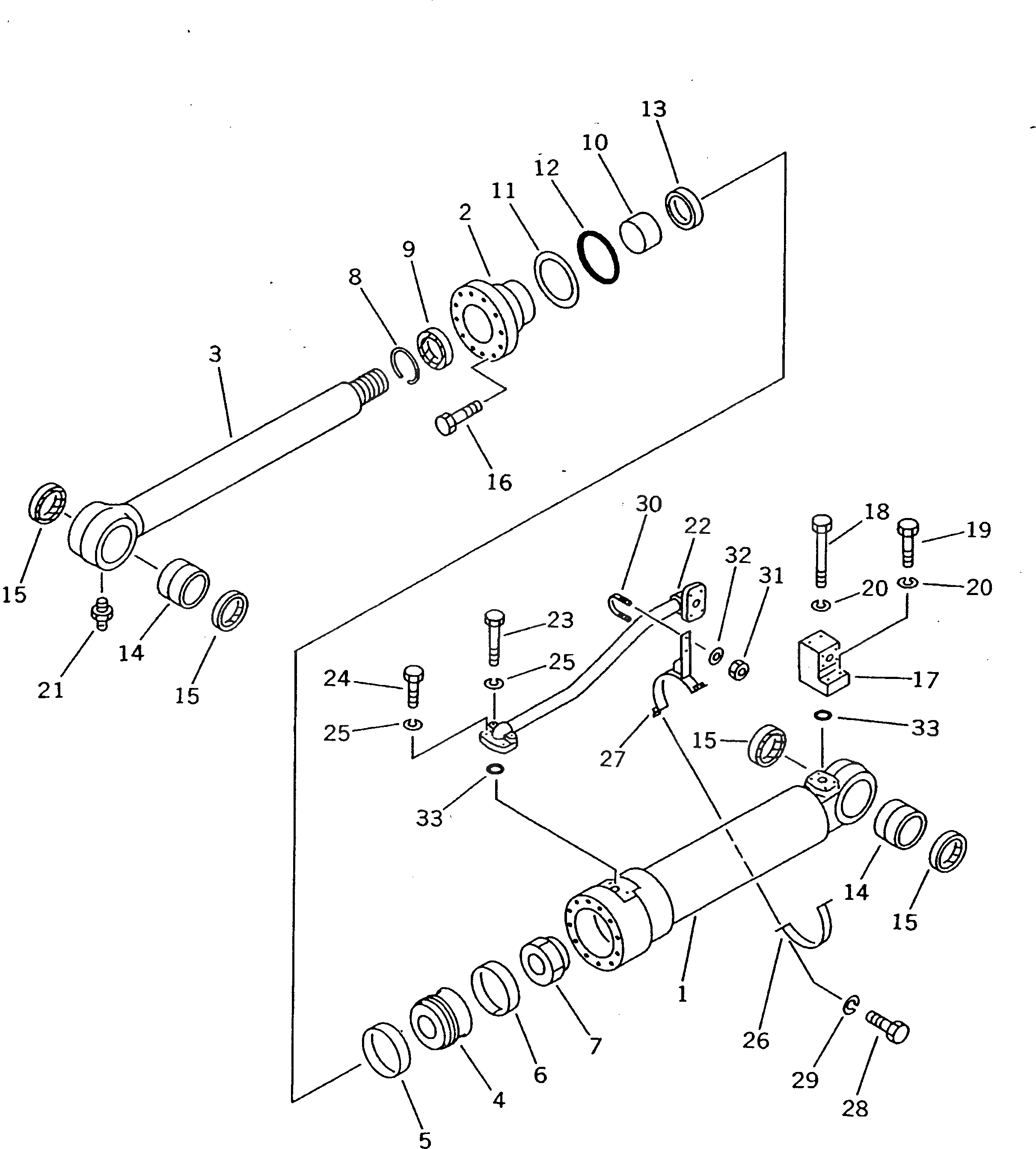
Запчасти Komatsu PW200-1 ЦИЛИНДР ОПОРЫ ОСНОВН. КОМПОНЕНТЫ И РЕМКОМПЛЕКТЫ

Схема запчастей Komatsu PW200-1 - ЦИЛИНДР ОПОРЫ ОСНОВН. КОМПОНЕНТЫ И РЕМКОМПЛЕКТЫ
FIT
1:1
100%

Артикул

Название

Примечание

Количество

|1

20K-63-02010

CYLINDER ASS'Y,OUTRIGGER

1

20K-63-12140

CYLINDER

2

707-27-13570

HEAD,CYLINDER

3

20K-63-12120

ROD

4

707-36-13260

PISTON

5

707-44-13180

RING,PISTON (KIT)

6

07155-01330

RING,WEAR (KIT)

7

07165-15252

NUT

8

07179-00103

RING,SNAP

9

195-63-92190

SEAL,DUST (KIT)

10

07177-08030

BUSHING

11

07146-02126

RING,BACK-UP (KIT)

12

07000-12125

O-RING (KIT)

13

707-51-80211

PACKING,ROD (KIT)

14

707-76-80260

BUSHING

15

07145-00080

SEAL,DUST (KIT)

16

01010-81655

BOLT

17

707-87-12010

BLOCK

18

01010-50890

BOLT

19

01010-50830

BOLT

20

01602-20825

WASHER,SPRING

21

07020-00000

FITTING,GREASE

22

20K-63-12170

TUBE,L.H.

|22

20K-63-12270

TUBE,R.H.

23

01010-50855

BOLT

24

01010-50840

BOLT

25

01602-20825

WASHER,SPRING

26

707-88-99310

BAND

27

707-88-96510

BRACKET

28

01010-51035

BOLT

29

01602-21030

WASHER,SPRING

30

07283-22738

CLIP

31

01599-01011

NUT

32

01643-31032

WASHER

33

07000-13030

O-RING (KIT)

Выбрано товаров: 35