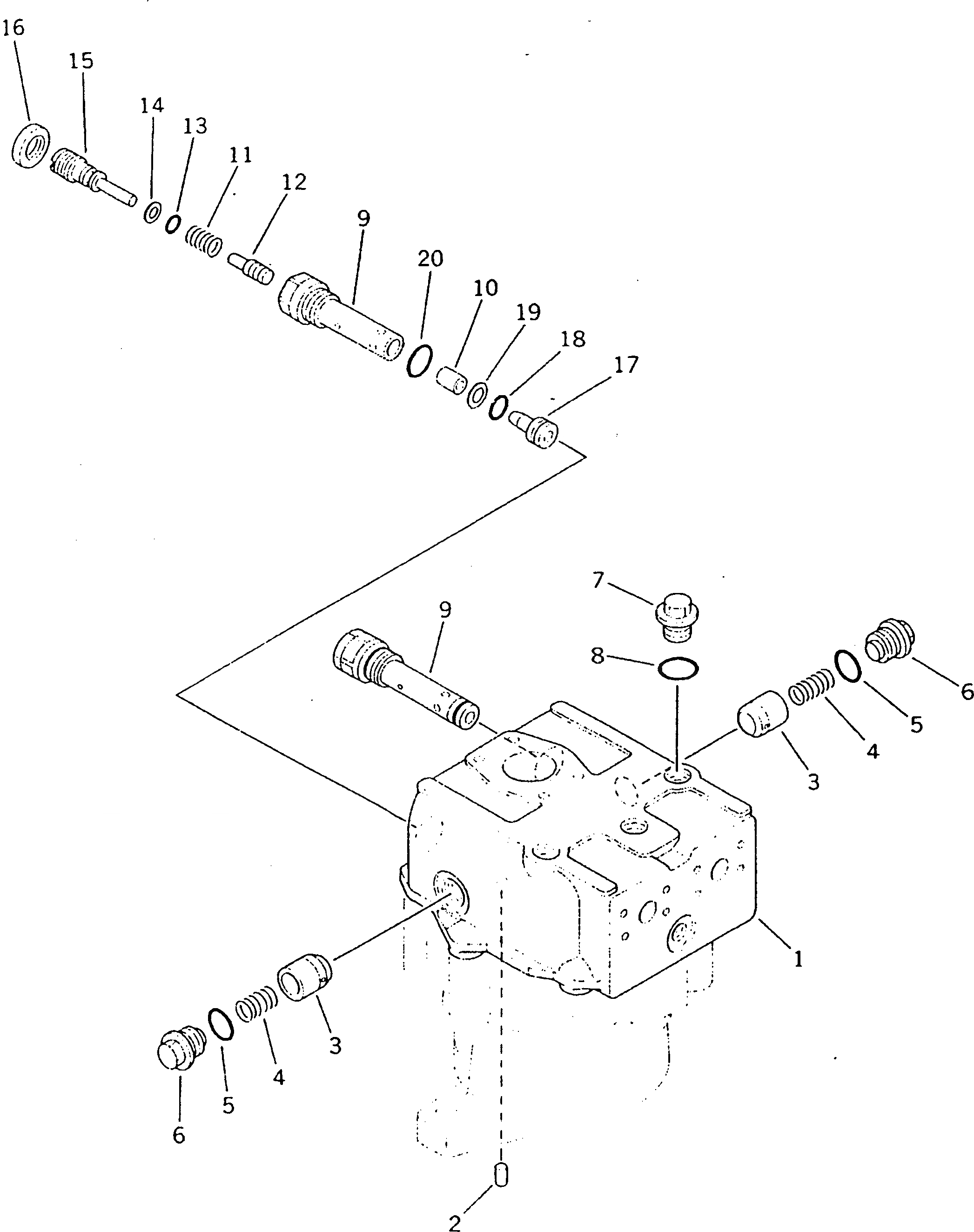
Запчасти Komatsu PW200-1 МОТОР ПОВОРОТА (/) ОСНОВН. КОМПОНЕНТЫ И РЕМКОМПЛЕКТЫ

Схема запчастей Komatsu PW200-1 - МОТОР ПОВОРОТА (/) ОСНОВН. КОМПОНЕНТЫ И РЕМКОМПЛЕКТЫ
FIT
1:1
100%

Артикул

Название

Примечание

Количество

|1

706-75-11304

MOTOR ASS'Y

|1

706-75-11303

MOTOR ASS'Y

|1

706-75-11302

MOTOR ASS'Y

1

HOUSING

2

PIN,DOWEL

3

706-75-74540

VALVE

4

706-75-74550

SPRING

5

07002-13334

O-RING

6

706-75-74560

PLUG

7

706-77-72170

PLUG

8

07002-12434

O-RING

|9

706-75-85502

RELIEF VALVE ASS'Y

9

SLEEVE

10

VALVE

11

SPRING

12

PISTON

13

O-RING

14

RING

15

SCREW

16

NUT

17

SEAT,VALVE

18

07000-22020

O-RING

19

07001-02020

RING

20

07002-13034

O-RING

Выбрано товаров: 24