Запчасти Komatsu PW200-1 МОТОР ХОДА (/) ОСНОВН. КОМПОНЕНТЫ И РЕМКОМПЛЕКТЫ

Схема запчастей Komatsu PW200-1 - МОТОР ХОДА (/) ОСНОВН. КОМПОНЕНТЫ И РЕМКОМПЛЕКТЫ
FIT
1:1
100%

Артикул

Название

Примечание

Количество

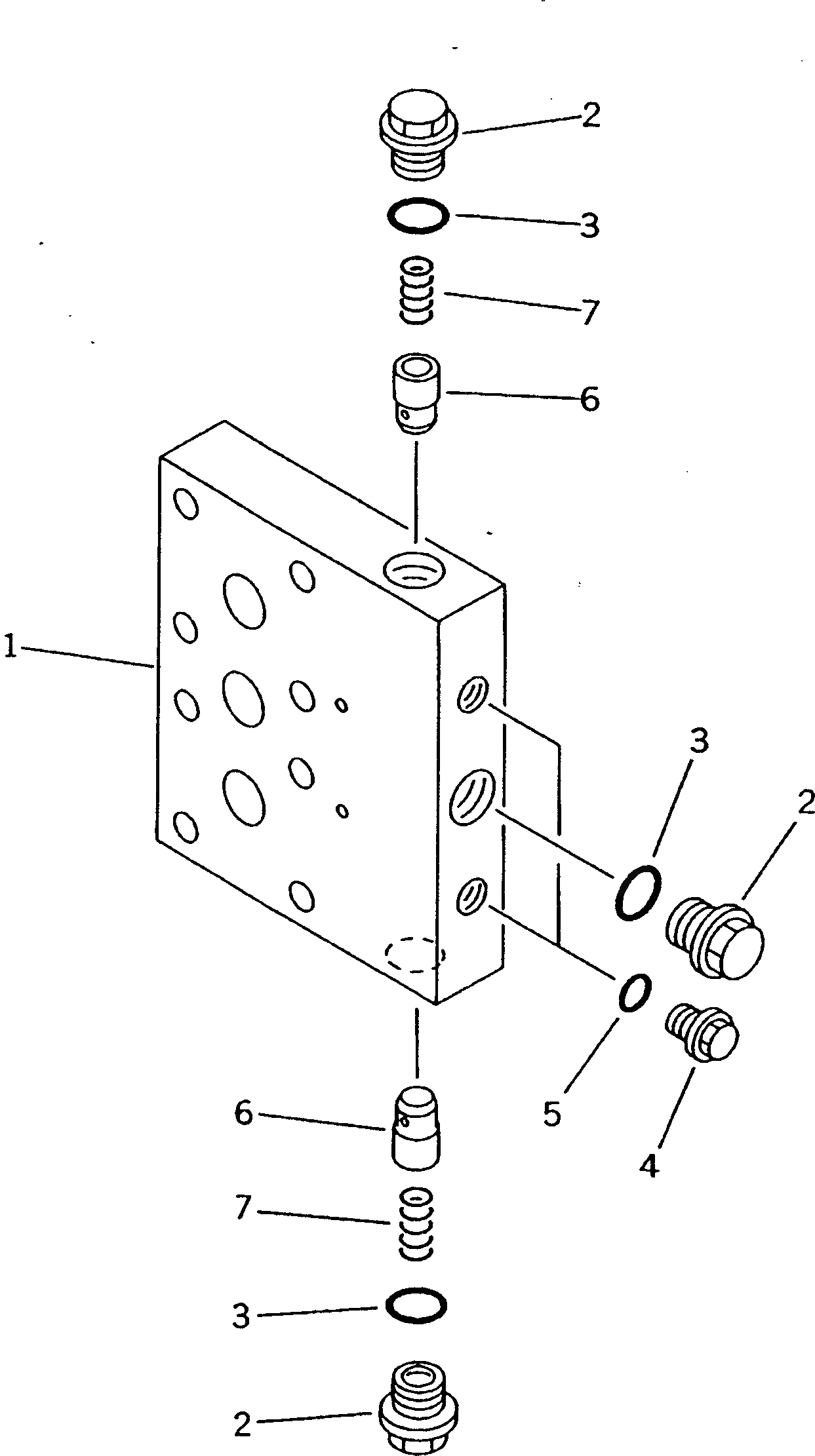
|1

706-87-01103

MOTOR ASS'Y

|1

706-87-01102

MOTOR ASS'Y

|1

702-66-01200

VALVE ASS'Y

1

702-66-11150

BLOCK

2

706-75-79250

PLUG

3

07002-12034

O-RING

4

706-73-71450

PLUG

5

07002-11423

O-RING

6

706-75-71320

VALVE

7

700-42-31210

SPRING

Выбрано товаров: 10