Запчасти Komatsu PW200-1 ВПУСК ВОЗДУХА И TAIL PIPE(№-8) КОМПОНЕНТЫ ДВИГАТЕЛЯ

Схема запчастей Komatsu PW200-1 - ВПУСК ВОЗДУХА И TAIL PIPE(№-8) КОМПОНЕНТЫ ДВИГАТЕЛЯ
FIT
1:1
100%

Артикул

Название

Примечание

Количество

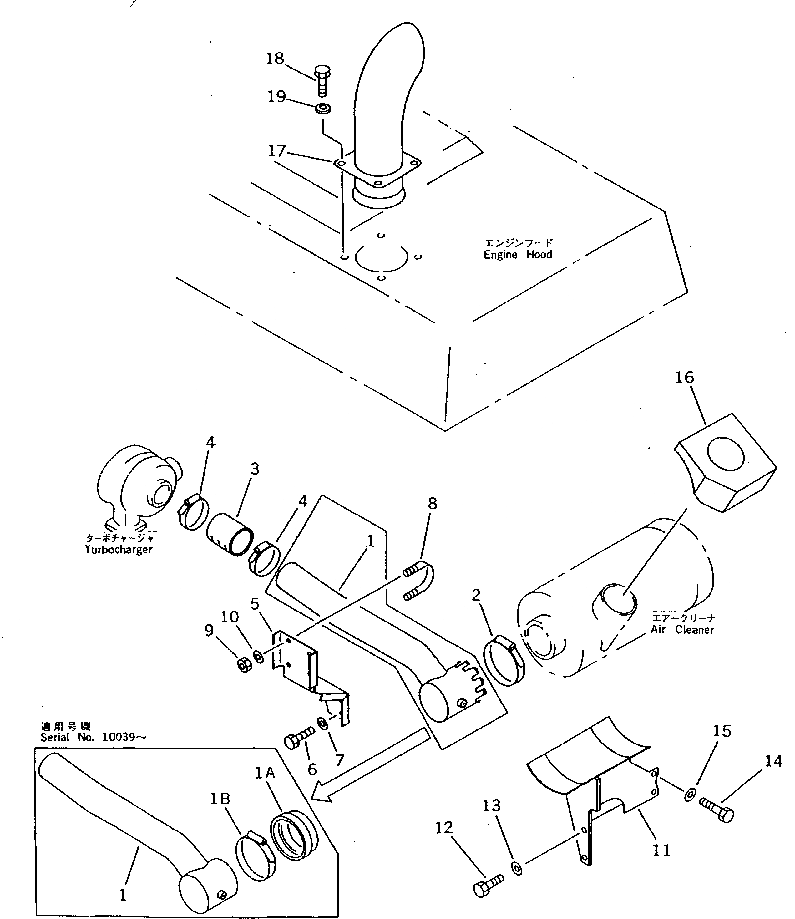
1

206-01-45112

TUBE

|1

206-01-45111

TUBE

1A

206-01-45290

HOSE

1B

07281-01279

CLAMP

2

07281-01159

CLAMP

3

6131-11-4470

HOSE

4

07281-01029

CLAMP

5

206-01-45142

BRACKET

|5

206-01-45141

BRACKET

6

01010-51030

BOLT

7

01643-31032

WASHER

8

07283-27663

CLIP

9

01599-01011

NUT

10

01643-31032

WASHER

11

20K-01-12110

BRACKET

12

01010-51230

BOLT

13

01643-31232

WASHER

14

01010-51250

BOLT

15

01643-31232

WASHER

16

206-01-45163

SEAL

17

205-01-73132

PIPE,TAIL

18

01010-51230

BOLT

19

124-54-26540

WASHER

Выбрано товаров: 23