Запчасти Komatsu PW200-1 ГИДРОЛИНИЯ (БАК - НАСОС РУЛЕВ. УПРАВЛ-Я)(№-) ГИДРАВЛИКА

Схема запчастей Komatsu PW200-1 - ГИДРОЛИНИЯ (БАК - НАСОС РУЛЕВ. УПРАВЛ-Я)(№-) ГИДРАВЛИКА
FIT
1:1
100%

Артикул

Название

Примечание

Количество

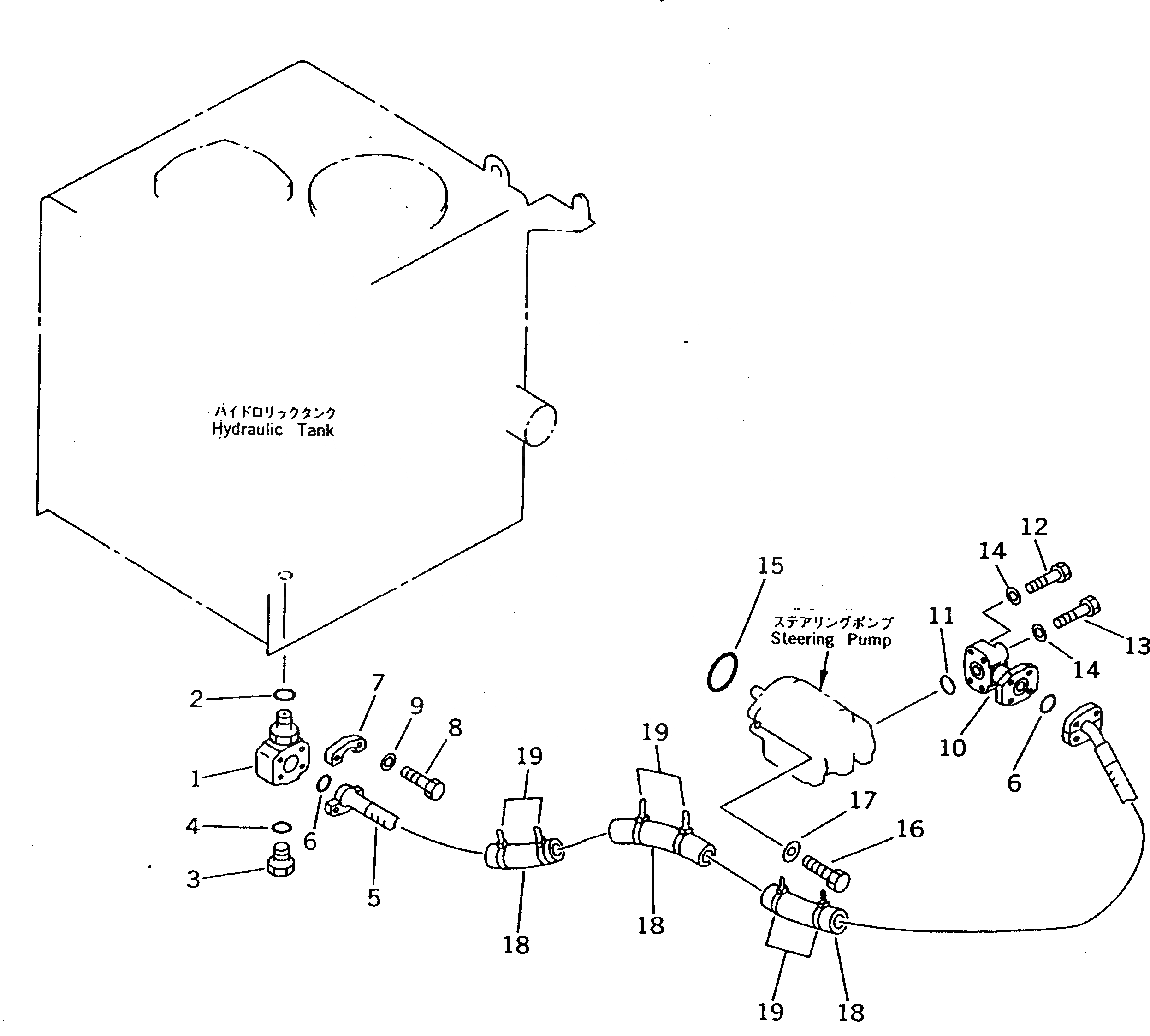
1

20K-62-13271

ELBOW

2

07002-13634

O-RING

|2

07002-03634

O-RING

3

07044-12412

PLUG

4

07002-02434

O-RING

5

07298-01230

HOSE

6

07000-13038

O-RING

|6

07000-03038

O-RING

7

07371-31255

FLANGE

8

07372-21035

BOLT

9

01643-51032

WASHER

10

20K-62-15161

TUBE

11

07000-13035

O-RING

|11

07000-03035

O-RING

12

01010-81055

BOLT

|12

01010-51055

BOLT

13

01010-81060

BOLT

|13

01010-51060

BOLT

14

01643-51032

WASHER

15

07000-12085

O-RING

|15

07000-02085

O-RING

16

01010-81030

BOLT

|16

01010-51030

BOLT

17

01643-31032

WASHER

18

205-62-74660

COVER

19

08034-00536

BAND

Выбрано товаров: 26