Запчасти Komatsu PW200-1 ОСНОВН. КЛАПАН (/7) ОСНОВН. КОМПОНЕНТЫ И РЕМКОМПЛЕКТЫ

Схема запчастей Komatsu PW200-1 - ОСНОВН. КЛАПАН (/7) ОСНОВН. КОМПОНЕНТЫ И РЕМКОМПЛЕКТЫ
FIT
1:1
100%

Артикул

Название

Примечание

Количество

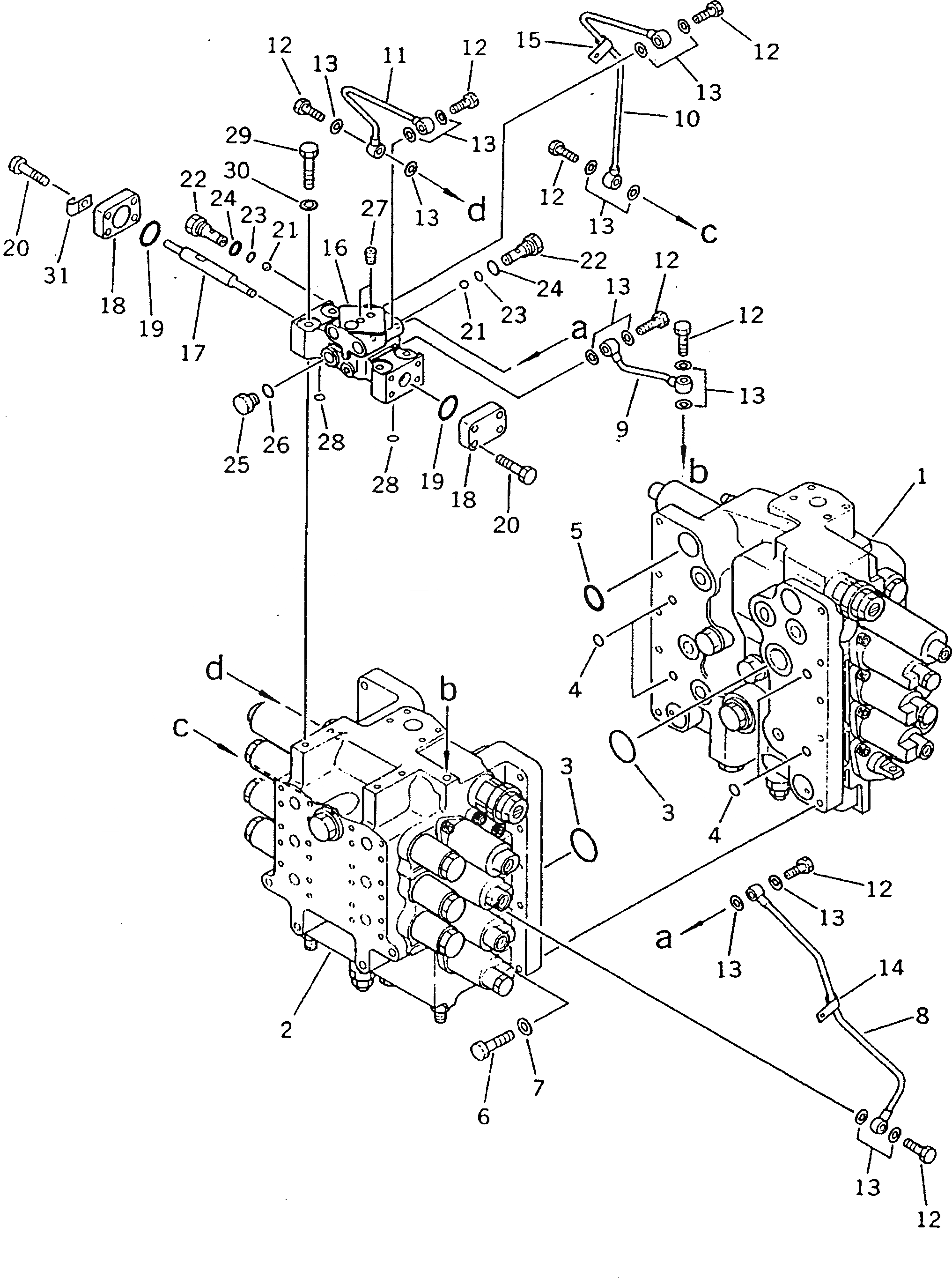
|1

709-79-12307

CONTROL VALVE ASS'Y

|1

709-79-12306

CONTROL VALVE ASS'Y

|1

709-79-12305

CONTROL VALVE ASS'Y

|1

709-79-12304

CONTROL VALVE ASS'Y

|1

709-79-12303

CONTROL VALVE ASS'Y

|1

709-79-12302

CONTROL VALVE ASS'Y

|1

709-79-12301

CONTROL VALVE ASS'Y

1

709-75-92303

VALVE ASS'Y

|1

709-75-92302

VALVE ASS'Y

|1

709-75-92301

VALVE ASS'Y

2

709-74-92304

VALVE ASS'Y

|2

709-74-92303

VALVE ASS'Y

|2

709-74-92302

VALVE ASS'Y

|2

709-74-92301

VALVE ASS'Y

3

07000-13038

O-RING

4

07000-12010

O-RING

5

07000-13028

O-RING

6

01010-81040

BOLT

7

01643-31032

WASHER

8

709-79-11130

TUBE

9

709-79-11110

TUBE

10

709-79-11140

TUBE

11

709-79-11120

TUBE

12

07206-30508

BOLT,JOINT

13

07005-00812

GASKET

14

08036-31210

CLIP

15

08036-31214

CLIP

|16

709-70-91700

SHUTTLE VALVE ASS'Y

16

BODY

17

SPOOL

18

709-70-91150

PLATE

19

07000-13025

O-RING

20

01010-80825

BOLT

21

04260-00793

BALL

22

709-70-91170

PLUG

23

07000-01007

O-RING

24

07002-01423

O-RING

25

07040-11409

PLUG

26

07002-01423

O-RING

27

PLUG

28

07000-11009

O-RING

29

01010-80855

BOLT

30

01643-30823

WASHER

31

08036-30810

CLIP

Выбрано товаров: 44