Запчасти Komatsu PW200-1 ОСНОВН. КЛАПАН (/7) ОСНОВН. КОМПОНЕНТЫ И РЕМКОМПЛЕКТЫ

Схема запчастей Komatsu PW200-1 - ОСНОВН. КЛАПАН (/7) ОСНОВН. КОМПОНЕНТЫ И РЕМКОМПЛЕКТЫ
FIT
1:1
100%

Артикул

Название

Примечание

Количество

|1

709-79-12307

CONTROL VALVE ASS'Y

|1

709-79-12306

CONTROL VALVE ASS'Y

|1

709-79-12305

CONTROL VALVE ASS'Y

|1

709-79-12304

CONTROL VALVE ASS'Y

|1

709-79-12303

CONTROL VALVE ASS'Y

|1

709-79-12302

CONTROL VALVE ASS'Y

|1

709-79-12301

CONTROL VALVE ASS'Y

|1

709-75-92303

VALVE ASS'Y

|1

709-75-92302

VALVE ASS'Y

|1

709-75-92301

VALVE ASS'Y

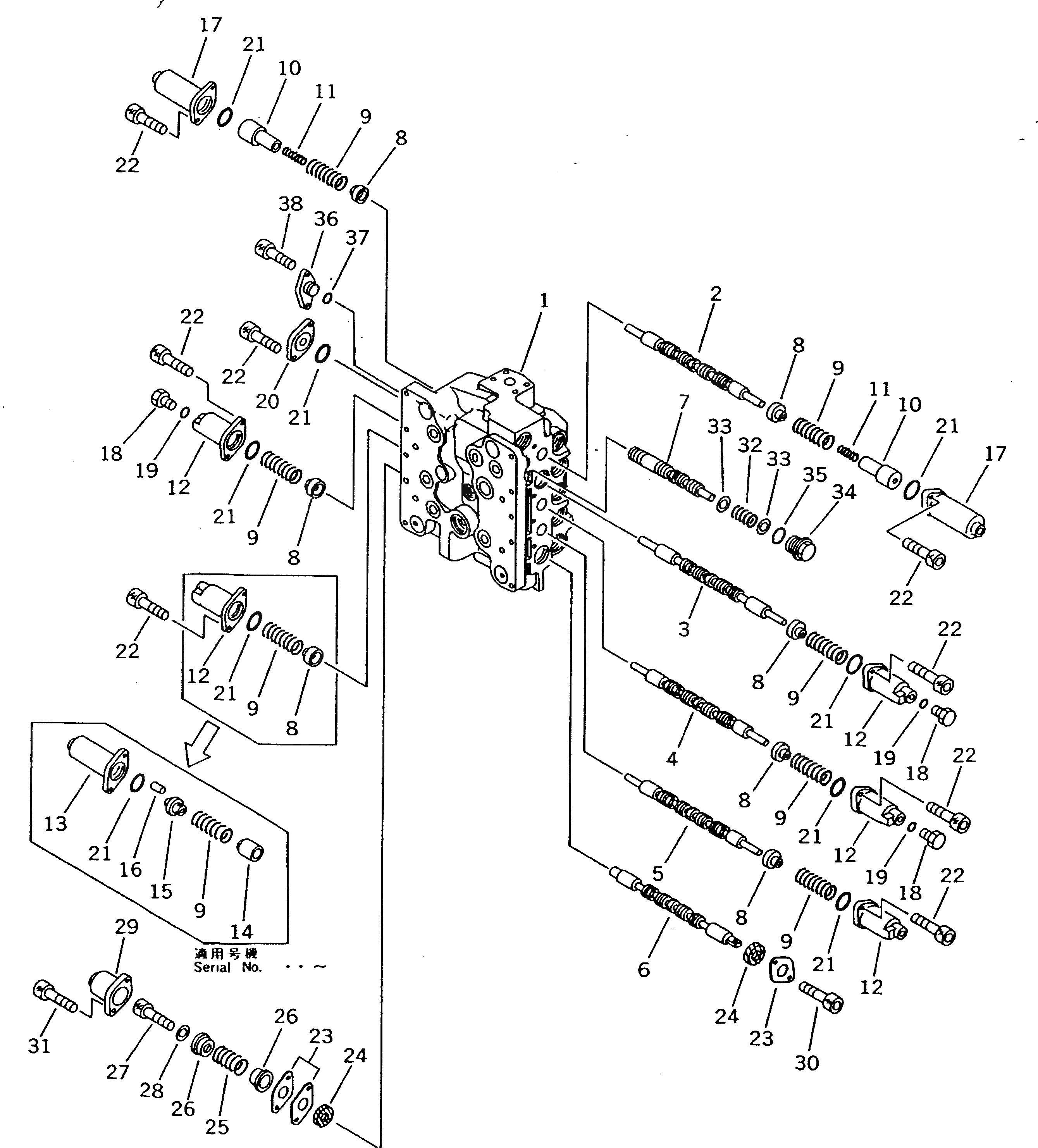
1

BODY,VALVE

2

SPOOL

3

SPOOL

4

SPOOL

5

SPOOL

|5

SPOOL

6

SPOOL

7

SPOOL

8

709-74-92110

RETAINER

|8

709-74-92110

RETAINER

9

709-74-92180

SPRING

10

709-74-92420

RETAINER

11

709-74-92430

SPRING

12

709-74-92120

CASE

|12

709-74-92120

CASE

13

709-74-91980

CASE

14

709-74-91990

RETAINER

15

709-74-91970

SLEEVE

16

04022-04008

PIN

17

709-74-91980

CASE

18

07040-11409

PLUG

19

07002-11423

O-RING

20

709-74-92590

PLATE

21

709-74-92170

O-RING

22

01252-60820

BOLT

23

709-75-92110

PLATE

24

709-75-92120

SEAL

25

709-75-92150

SPRING

26

709-75-92130

RETAINER

27

01252-60812

BOLT

28

01643-30823

WASHER

29

709-75-92140

CASE

30

01252-60812

BOLT

31

01252-60825

BOLT

32

709-74-92210

SPRING

33

709-74-92270

WASHER

34

709-74-92230

PLUG

35

07002-13034

O-RING

36

709-74-92260

PLATE

37

07000-12018

O-RING

38

01252-60820

BOLT

Выбрано товаров: 51