Запчасти Komatsu PW200-1 ЦИЛИНДР СТРЕЛЫТРУБЫ (ШАССИ) ГИДРАВЛИКА

Схема запчастей Komatsu PW200-1 - ЦИЛИНДР СТРЕЛЫТРУБЫ (ШАССИ) ГИДРАВЛИКА
FIT
1:1
100%

Артикул

Название

Примечание

Количество

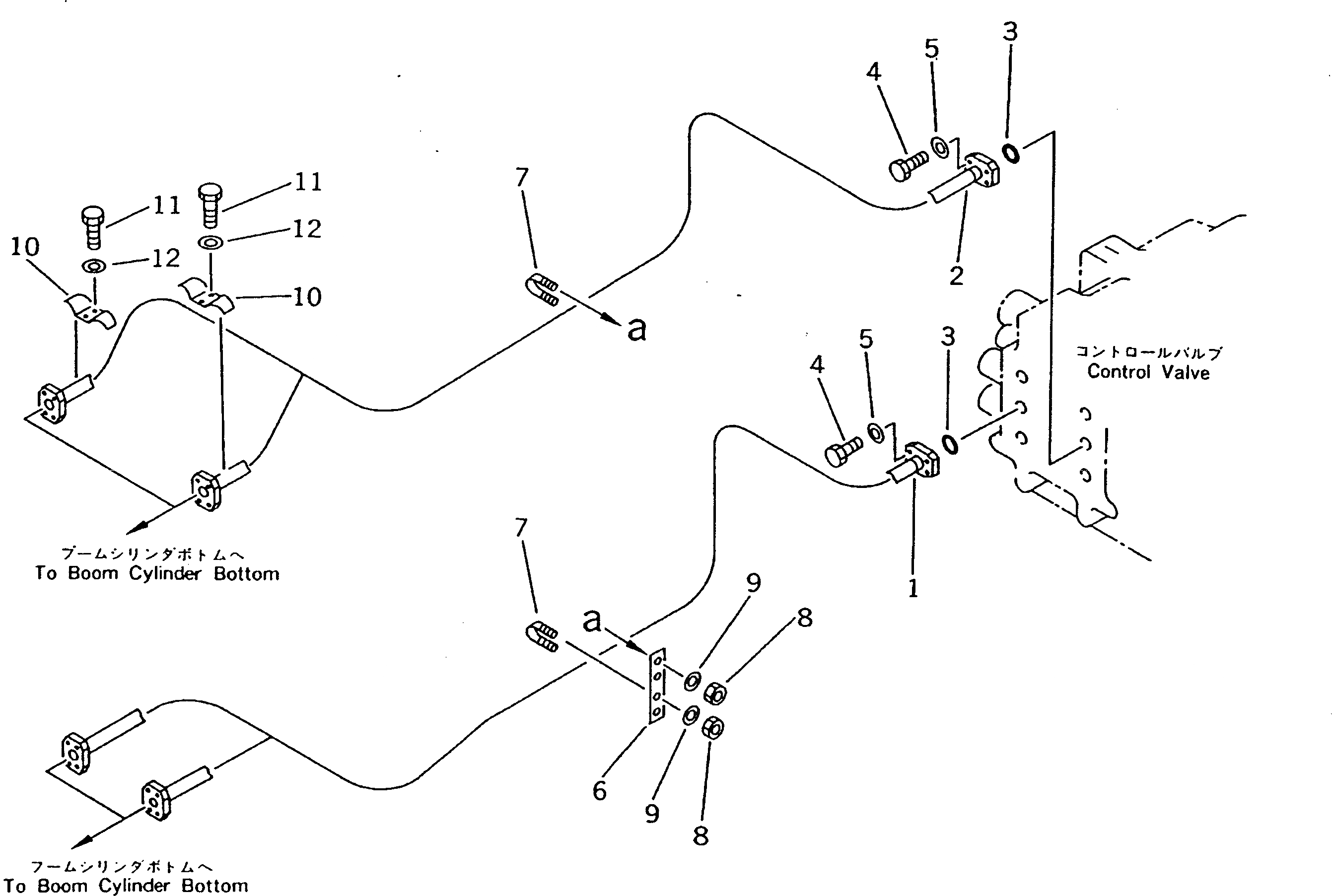
1

20K-62-11211

TUBE

2

20K-62-11221

TUBE

3

21T-09-11450

O-RING

4

01010-80830

BOLT

|4

01010-50830

BOLT

5

01643-50823

WASHER

6

205-62-71581

PLATE

7

07283-22738

CLIP

8

01599-01011

NUT

9

01643-31032

WASHER

10

205-62-71470

CLAMP

11

205-09-71110

BOLT

12

01643-31032

WASHER

Выбрано товаров: 13