Качественные детали и логистика
Оригинальные и аналоговые запчасти с доставкой по России, Казахстану и Беларуси
©2022 PartSell ООО "Система" ИНН 2463123282 ОГРН 1212400004838
Центральный офис: г. Красноярск, Академика Киренского, д.87, пом.4
Телефон: 8 (800) 777-65-74 Email: zakaz@partsell.ru
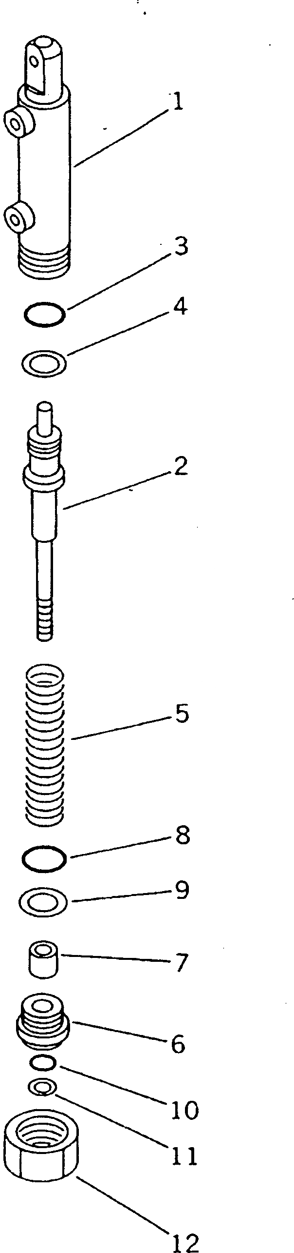
АВТОМ. ЗАМЕДЛЕНИЕ ОБОРОТОВ ЦИЛИНДР
№
Артикул
Название
Примечание
Количество
|1
205-43-74120
CYLINDER ASS'Y,DECELERATION
1
205-43-74130
CYLINDER
2
205-43-74140
PISTON
3
07002-12434
O-RING
4
07001-03022
RING,BACK-UP
5
205-43-74150
SPRING
6
20X-62-13612
STOPPER
7
20X-62-13622
BUSHING
8
07000-13028
9
07001-03028
10
07000-12015
11
07001-02015
12
20X-62-13632
NUT
Выбрано товаров: 0