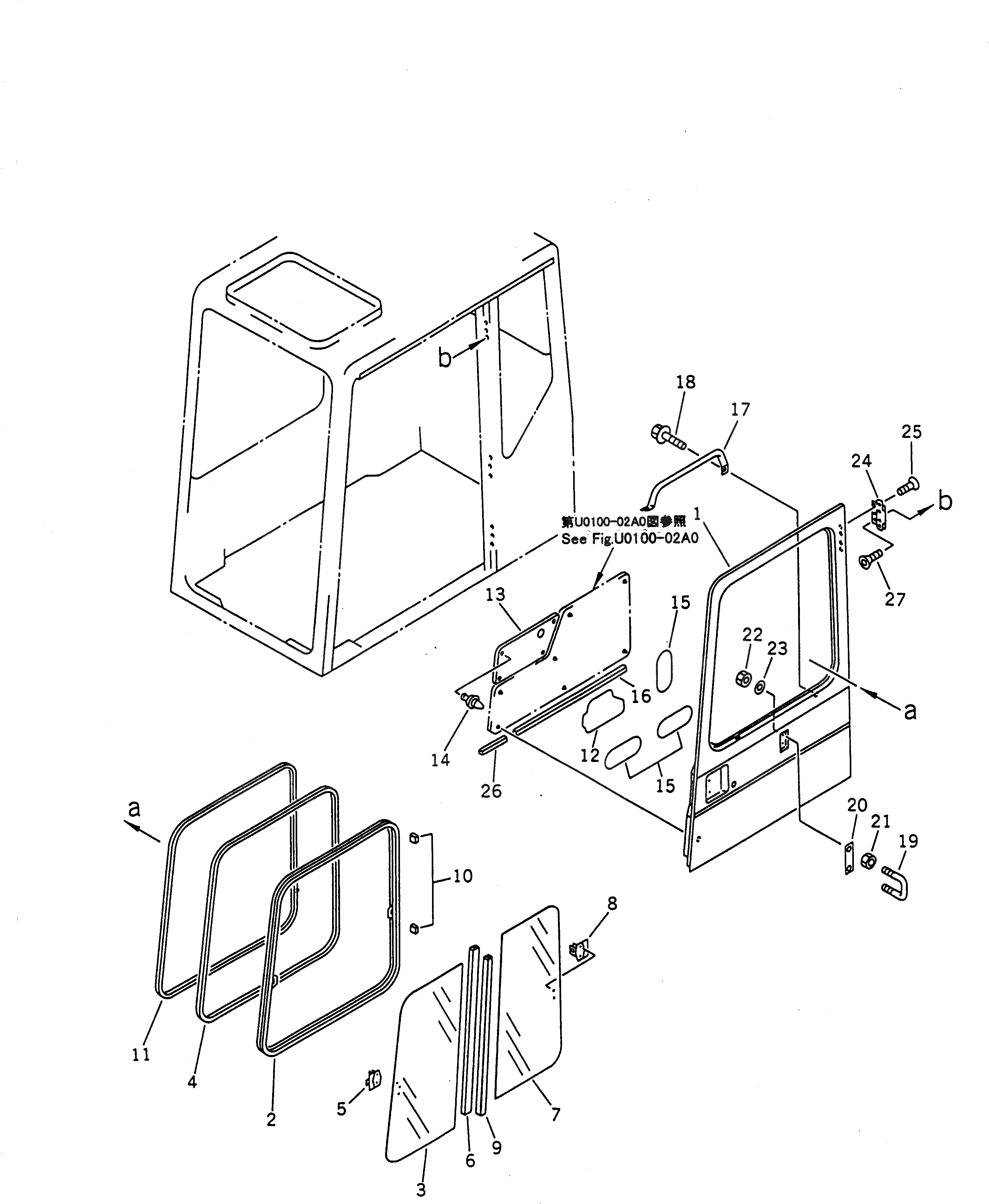
Запчасти Komatsu PW200-1 КАБИНА (/7) (ДВЕРЬ /)(№8-) КАБИНА ОПЕРАТОРА И СИСТЕМА УПРАВЛЕНИЯ

Схема запчастей Komatsu PW200-1 - КАБИНА (/7) (ДВЕРЬ /)(№8-) КАБИНА ОПЕРАТОРА И СИСТЕМА УПРАВЛЕНИЯ
FIT
1:1
100%

Артикул

Название

Примечание

Количество

|1

20K-54-00101

OPERATOR'S CAB ASS'Y

|1

20K-54-00100

OPERATOR'S CAB ASS'Y

|1

20Y-54-00024

DOOR ASS'Y

1

20Y-54-11184

DOOR

2

20Y-54-13113

SASH

3

20Y-54-13134

GLASS

4

20Y-54-13150

SEAL

5

20Y-54-13322

LOCK

6

20Y-54-13161

SASH

7

20Y-54-13124

GLASS

8

20Y-54-14352

LOCK ASS'Y

9

20Y-54-13171

SEAL

10

20Y-54-13180

SEAT

11

20Y-54-13190

TRIM

12

20Y-54-13450

SEAL

13

20Y-54-11692

COVER

14

20Y-54-14560

CLIP ASS'Y

15

20Y-54-13460

SEAL

|15

20Y-54-13460

SEAL

16

20Y-54-13851

SEAL

17

20Y-54-14390

GRIP

18

20Y-54-14360

BOLT

19

20Y-54-11813

STRIKER

20

20Y-54-14570

PLATE

21

01581-01008

NUT

22

01580-11008

NUT

23

01643-31032

WASHER

24

20Y-54-14180

HINGE ASS'Y

25

20Y-54-14170

SCREW

26

20Y-54-14470

SEAL

27

20Y-54-14170

SCREW

Выбрано товаров: 31