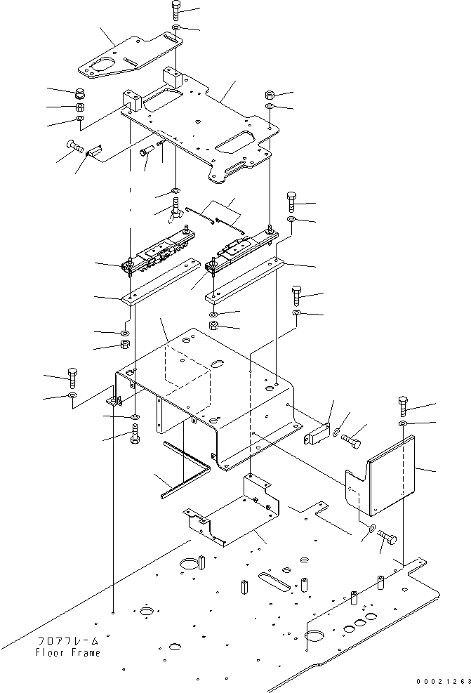
Запчасти Komatsu PW200-7 ПОЛ СТОЙКА (СИДЕНЬЕ СТОЙКА) КАБИНА ОПЕРАТОРА И СИСТЕМА УПРАВЛЕНИЯ

Схема запчастей Komatsu PW200-7 - ПОЛ СТОЙКА (СИДЕНЬЕ СТОЙКА) КАБИНА ОПЕРАТОРА И СИСТЕМА УПРАВЛЕНИЯ
1
2
3
4
4
5
6
7
8
8
9
10
11
11
12
12
13
13
14
14
15
16
17
18
19
20
21
22
23
24
25
26
27
28
29
30
31
32
33
34
34
35
35
FIT
1:1
100%

Артикул

Название

Примечание

Количество

1

20K-54-31542

BASE

2

01643-31232

WASHER

3

01010-81220

BOLT

4

20Y-43-31260

PLATE

5

20Y-43-31140

ADJUSTER

6

20Y-43-31150

ADJUSTER

7

20K-54-31152

PLATE

8

01643-71032

WASHER

9

01010-D1040

BOLT

10

01010-D1025

BOLT

11

01643-71032

WASHER

12

20Y-54-65340

NUT

13

01643-71032

WASHER

14

20Y-54-65340

NUT

15

20Y-54-65540

CAP

16

09452-06506

CATCHER

17

01224-40408

SCREW

18

20Y-43-31160

ROD

19

01643-30623

WASHER

20

01434-10616

BOLT¤ WING

21

20Y-54-43150

KNOB

22

22U-54-25170

WASHER

23

01010-D1230

BOLT

24

20K-54-31630

FRAME

25

22U-43-21260

WIRE

26

20K-54-31552

PLATE

27

20K-54-32420

SEAL

28

20K-54-32310

COVER

29

01643-30823

WASHER

30

01010-80812

BOLT

31

7861-94-3000

RESISTOR

32

01643-30823

WASHER

33

01010-80816

BOLT

34

01643-70823

WASHER

35

01010-D0820

BOLT

Выбрано товаров: 35