Качественные детали и логистика
Оригинальные и аналоговые запчасти с доставкой по России, Казахстану и Беларуси
©2022 PartSell ООО "Система" ИНН 2463123282 ОГРН 1212400004838
Центральный офис: г. Красноярск, Академика Киренского, д.87, пом.4
Телефон: 8 (800) 777-65-74 Email: zakaz@partsell.ru
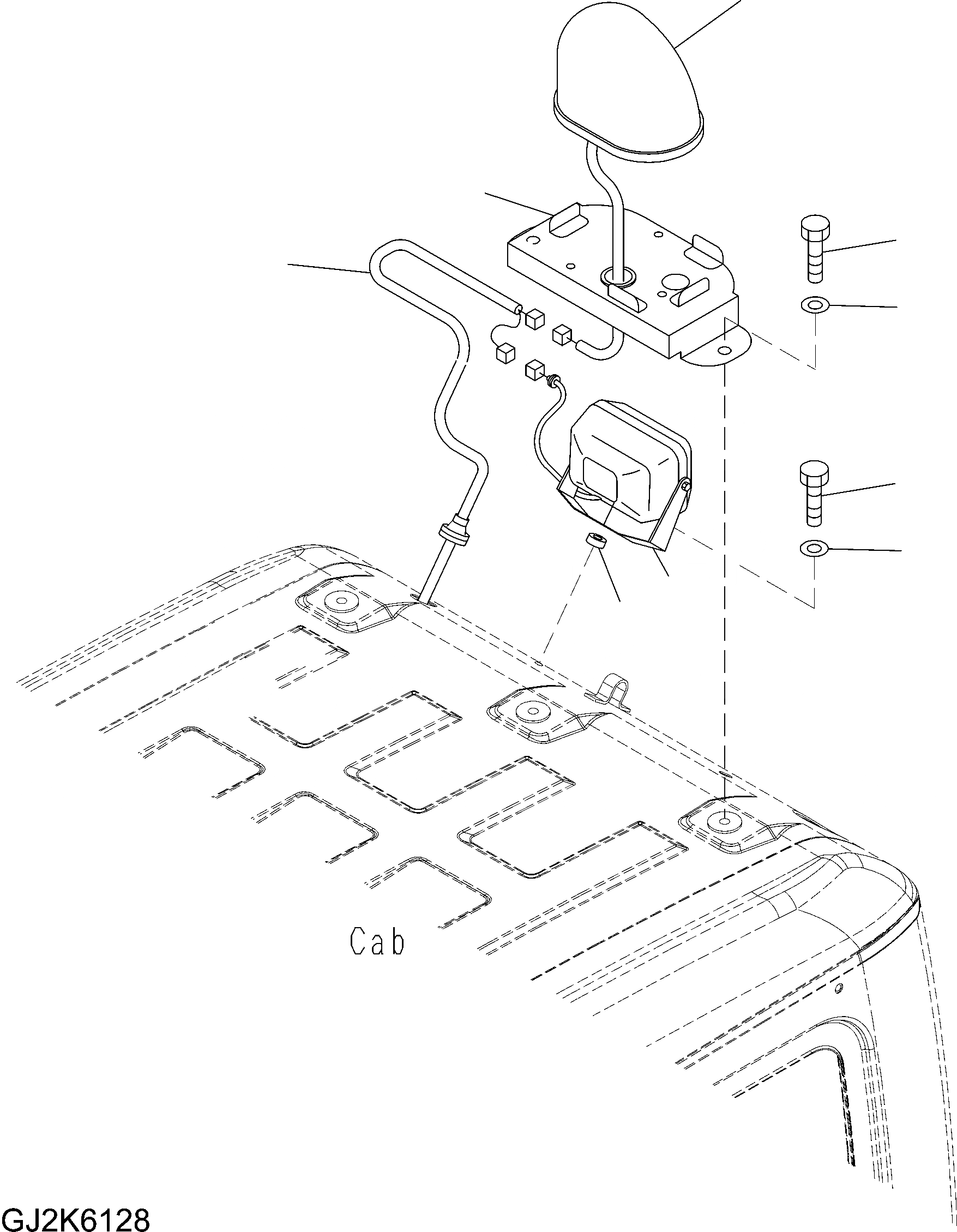
ПРОБЛЕСК. МАЯК И ЗАДН. РАБОЧ. ОСВЕЩЕНИЕ (КРЫША)
№
Артикул
Название
Примечание
Количество
1
20G-06-31330
LAMP, BEACON
2
20G-54-34650
BRACKET
3
01010-D1220
BOLT
4
01643-71232
WASHER
5
20Y-54-54121
WIRING HARNESS
6
22B-54-17511
WORK LAMP ASSEMBLY
|$7
421-06-23330
BULB, 70W
7
01010-D1025
8
01643-71032
9
560-43-15220
Выбрано товаров: 0