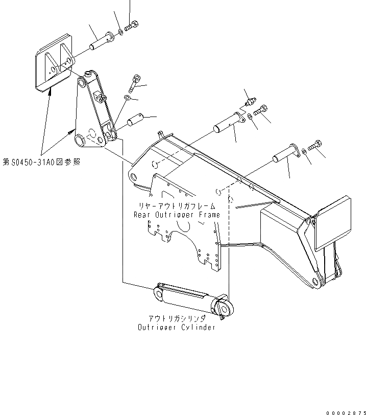
Запчасти Komatsu PW200-7 ОПОРА (ОПОРА ПАЛЕЦ - ЗАДН. ОПОРА) S ПОДВЕСКА И КОЛЕСА

Схема запчастей Komatsu PW200-7 - ОПОРА (ОПОРА ПАЛЕЦ - ЗАДН. ОПОРА) S ПОДВЕСКА И КОЛЕСА
8
10
9
12
13
11
4
1
3
2
5
7
6
SEE FIG. S0450-31A0
FIT
1:1
100%

Артикул

Название

Примечание

Количество

1

20K-910-3841

PIN

2

01010-81035

BOLT

3

01643-31032

WASHER

4

07020-00000

FITTING

5

20K-910-3851

PIN

6

01010-81035

BOLT

7

01643-31032

WASHER

8

20K-910-3861

PIN

9

01010-81035

BOLT

10

01643-31032

WASHER

11

20K-910-3990

PIN

12

01253-61210

BOLT

13

01641-21223

WASHER

Выбрано товаров: 13