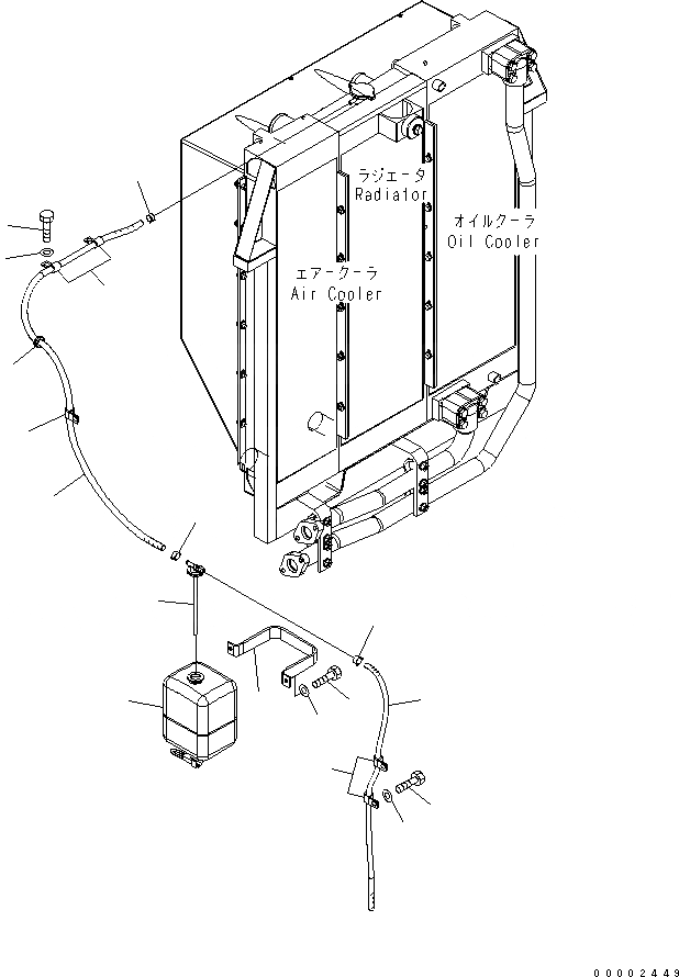
Запчасти Komatsu PW200-7 ОХЛАЖД-Е (ВТОРИЧН. БАК) C СИСТЕМА ОХЛАЖДЕНИЯ

Схема запчастей Komatsu PW200-7 - ОХЛАЖД-Е (ВТОРИЧН. БАК) C СИСТЕМА ОХЛАЖДЕНИЯ
10
11
15
8
9
4
2
1
5
12
7
6
4
3
13
14
4
9
FIT
1:1
100%

Артикул

Название

Примечание

Количество

1

20Y-06-15240

TANK ASSEMBLY

2

205-03-71532

CAP

|$3

205-03-71540

PACKING

3

20K-03-31750

HOSE

4

20E-03-K1190

CLIP

5

20E-03-K1110

BRACKET

6

01010-80825

BOLT

7

01643-30823

WASHER

8

20K-03-31740

HOSE

9

04434-51510

CLIP

10

01010-81020

BOLT

11

01643-31032

WASHER

12

04434-51510

CLIP

13

01010-81020

BOLT

14

01643-31032

WASHER

15

08037-01610

GROMMET

Выбрано товаров: 16