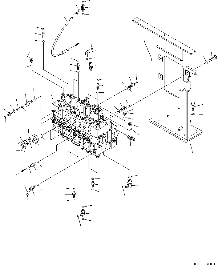
Запчасти Komatsu PW200-7E0 ОСНОВН. КЛАПАН И ЭЛЕМЕНТЫ КРЕПЛЕНИЯ (ONE-ЧАСТИ СТРЕЛА, ONE НАВЕСН. ОБОРУД) H ГИДРАВЛИКА

Схема запчастей Komatsu PW200-7E0 - ОСНОВН. КЛАПАН И ЭЛЕМЕНТЫ КРЕПЛЕНИЯ (ONE-ЧАСТИ СТРЕЛА, ONE НАВЕСН. ОБОРУД) H ГИДРАВЛИКА
22
21
23
22
32
8
7
9
11
10
12
39
33
36
37
35
38
34
27
26
29
28
30
24
25
1
41
40
42
31
8
7
9
14
8
7
9
15
13
14
9
7
8
22
22
21
23
8
7
9
19
18
20
2
31
16
17
12
11
10
22
8
7
9
9
7
8
23
21
22
6
5
3
4
a
a
FIT
1:1
100%

Артикул

Название

Примечание

Количество

1

723-48-21201

VALVE ASSEMBLY

2

20K-62-32922

BRACKET

3

01010-81650

BOLT

4

01643-31645

WASHER

5

01010-81640

BOLT

6

01643-31645

WASHER

7

11Y-62-12130

NIPPLE

8

02896-11008

O-RING

9

07002-11423

O-RING

10

20Y-62-41920

ELBOW

11

02896-11008

O-RING

12

07002-11223

O-RING

13

20K-62-35180

TEE

14

02896-11009

O-RING

15

07002-11423

O-RING

16

07040-12412

PLUG

17

07002-12434

O-RING

18

02782-10628

ELBOW

19

02896-11018

O-RING

20

07002-12434

O-RING

21

11Y-62-12330

TEE

22

02896-11018

O-RING

23

07002-11423

O-RING

24

20K-62-31230

FLANGE

25

07000-13032

O-RING

26

07372-21035

BOLT

27

01643-51032

WASHER

28

02783-10522

ELBOW

29

02896-11015

O-RING

30

07002-12434

O-RING

31

7861-93-1811

SENSOR

|$33

07002-11823

O-RING

32

02760-00207

HOSE

|$35

20Y-62-41601

VALVE ASSEMBLY

33

BODY

34

20Y-60-22270

POPPET

35

20Y-62-41970

NIPPLE

36

701-20-61230

SPRING

37

07002-11423

O-RING

38

02896-11018

O-RING

39

07002-11423

O-RING

40

02782-10210

ELBOW

41

02896-11008

O-RING

42

07002-11423

O-RING

Выбрано товаров: 44