Запчасти Komatsu PW200-7E0 WALK WAY (КАБИНА) M ЧАСТИ КОРПУСА

Схема запчастей Komatsu PW200-7E0 - WALK WAY (КАБИНА) M ЧАСТИ КОРПУСА
5
6
6
5
11
12
10
8
9
7
9
8
9
8
4
1
3
2
a
a
b
b
FIT
1:1
100%

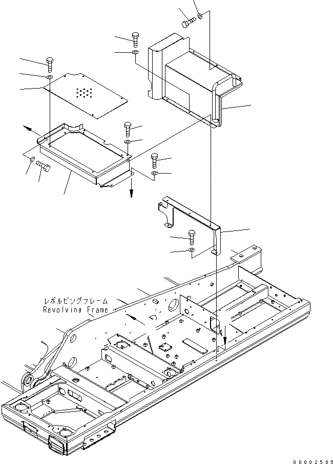
Артикул

Название

Примечание

Количество

1

20K-54-33280

PLATE ASSEMBLY

2

01643-31232

WASHER

3

01010-81225

BOLT

4

20K-54-33290

PLATE ASSEMBLY

5

01643-31232

WASHER

6

01010-81225

BOLT

7

20K-54-21592

PLATE ASSEMBLY

8

01643-31232

WASHER

9

01010-81225

BOLT

10

20K-54-31840

COVER

11

01010-81220

BOLT

12

01643-31232

WASHER

Выбрано товаров: 12