Запчасти Komatsu PW200-7E0 ОСНОВН. НАСОС (/) Y ОСНОВН. КОМПОНЕНТЫ И РЕМКОМПЛЕКТЫ

Схема запчастей Komatsu PW200-7E0 - ОСНОВН. НАСОС (/) Y ОСНОВН. КОМПОНЕНТЫ И РЕМКОМПЛЕКТЫ
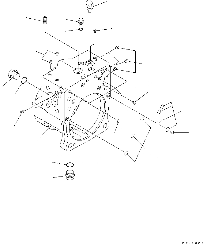
12
13
2
1
7
6
3
5
4
5
2
2
8
2
11
10
9
2
FIT
1:1
100%

Артикул

Название

Примечание

Количество

|$1

708-2L-00203

PUMP ASSEMBLY

|$3

PUMP SUB ASSEMBLY

|$4

708-2L-06252

CASE ASSEMBLY

1

CASE

2

PLUG

3

07000-B1009

O-RING

4

708-1L-29340

ORIFICE

5

708-2L-41170

O-RING

6

07044-12412

PLUG

7

07002-62434

O-RING

8

04530-11222

BOLT

9

20B-27-11210

BLEEDER

10

708-8E-16150

PLUG

11

07002-61023

O-RING

12

07040-12414

PLUG

13

07002-62434

O-RING

Выбрано товаров: 16