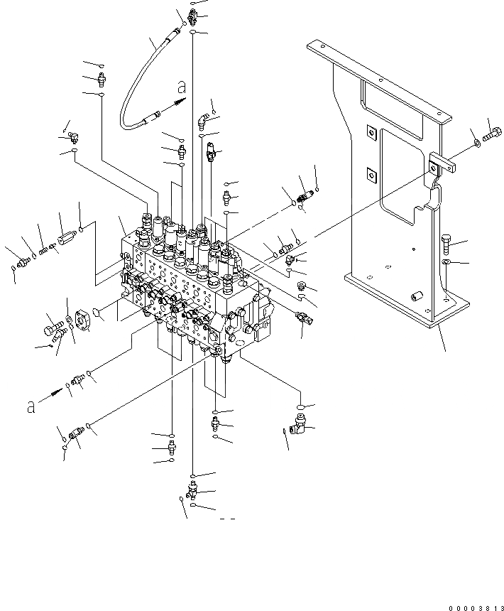
Запчасти Komatsu PW200-7K-KA ОСНОВН. КЛАПАН И ЭЛЕМЕНТЫ КРЕПЛЕНИЯ (ДЛЯ 1-СЕКЦИОНН. СТРЕЛЫ С НАВЕСН.ОБОРУД) ГИДРАВЛИКА

Схема запчастей Komatsu PW200-7K-KA - ОСНОВН. КЛАПАН И ЭЛЕМЕНТЫ КРЕПЛЕНИЯ (ДЛЯ 1-СЕКЦИОНН. СТРЕЛЫ С НАВЕСН.ОБОРУД) ГИДРАВЛИКА
1
2
3
4
5
6
7
7
7
7
7
7
7
8
8
8
8
8
8
8
9
9
9
9
9
9
9
10
10
11
11
12
12
13
14
14
15
16
17
18
19
20
21
21
21
22
22
22
22
22
22
23
23
23
24
25
26
27
28
29
30
31
31
32
33
34
35
36
37
38
39
40
41
42
FIT
1:1
100%

Артикул

Название

Примечание

Количество

1

723-47-21201

VALVE ASS'Y,(SEE FIG.Y1662-01A0)

|1

723-47-21200

VALVE ASS'Y,(SEE FIG.Y1662-01A0)

2

20K-62-32922

BRACKET

3

01010-81650

BOLT

4

01643-31645

WASHER

5

01010-81640

BOLT

6

01643-31645

WASHER

7

11Y-62-12130

NIPPLE

8

02896-11008

O-RING

9

07002-11423

O-RING

10

20Y-62-41920

ELBOW

11

02896-11008

O-RING

12

07002-11223

O-RING

13

20K-62-35180

TEE

14

02896-11009

O-RING

15

07002-11423

O-RING

16

07040-12412

PLUG

17

07002-12434

O-RING

18

02782-10628

ELBOW

19

02896-11018

O-RING

20

07002-12434

O-RING

21

11Y-62-12330

TEE

|21

11Y-62-12330

TEE

22

02896-11018

O-RING

|22

02896-11018

O-RING

23

07002-11423

O-RING

|23

07002-11423

O-RING

24

20K-62-31230

FLANGE

25

07000-13032

O-RING

26

07372-21035

BOLT

27

01643-51032

WASHER

28

02783-10522

ELBOW

29

02896-11015

O-RING

30

07002-12434

O-RING

31

7861-93-1650

SENSOR

|31

07002-11823

O-RING

32

02760-00207

HOSE

|33

20Y-62-41601

VALVE ASS'Y

33

BODY

34

20Y-60-22270

POPPET

35

20Y-62-41970

NIPPLE

36

701-20-61230

SPRING

37

07002-11423

O-RING

38

02896-11008

O-RING

39

07002-11423

O-RING

40

11Y-62-12160

ELBOW

41

02896-11008

O-RING

42

07002-11423

O-RING

Выбрано товаров: 0