Качественные детали и логистика
Оригинальные и аналоговые запчасти с доставкой по России, Казахстану и Беларуси
©2022 PartSell ООО "Система" ИНН 2463123282 ОГРН 1212400004838
Центральный офис: г. Красноярск, Академика Киренского, д.87, пом.4
Телефон: 8 (800) 777-65-74 Email: zakaz@partsell.ru
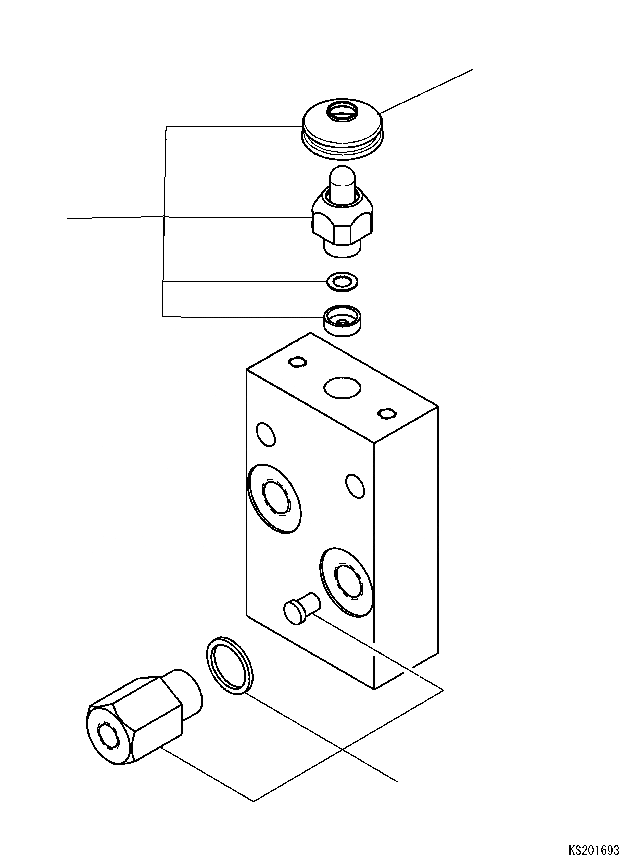
ПЕДАЛЬ ХОДА (ASSEMBLY)
№
Артикул
Название
Примечание
Количество
1
20K-54-32530
PLUNGER KIT
2
20K-54-32520
RUBBER CAP
|3
PLUNGER
WASHER
CAP
3
20K-54-32540
PIPE CONNECTION KIT
Выбрано товаров: 0