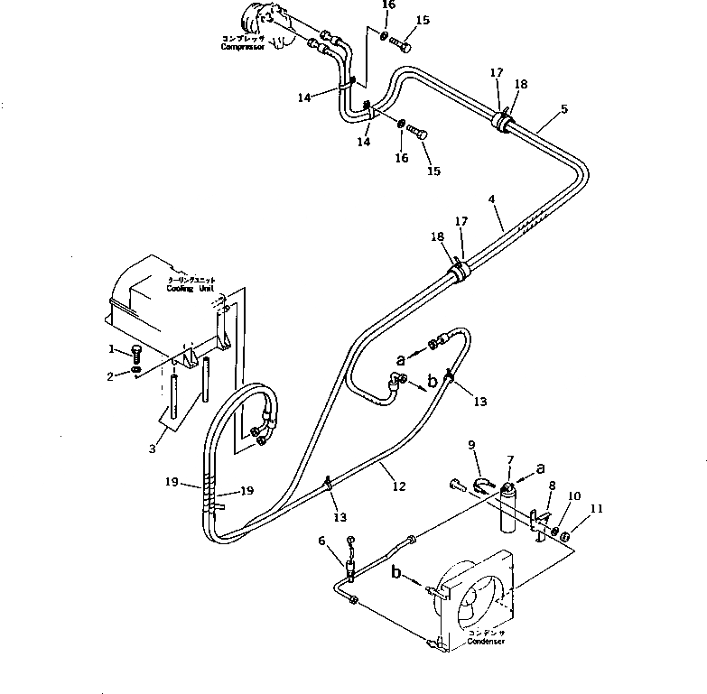
Запчасти Komatsu PW210-1 ТРУБКИ КОНДИЦИОНЕРА (ОХЛАЖД-Е)(№-) КАБИНА ОПЕРАТОРА И СИСТЕМА УПРАВЛЕНИЯ

Схема запчастей Komatsu PW210-1 - ТРУБКИ КОНДИЦИОНЕРА (ОХЛАЖД-Е)(№-) КАБИНА ОПЕРАТОРА И СИСТЕМА УПРАВЛЕНИЯ
FIT
1:1
100%

Артикул

Название

Примечание

Количество

1

01010-51225

BOLT

2

01643-31232

WASHER

3

205-979-6350

HOSE

4

205-979-1140

HOSE

5

205-979-1120

HOSE

6

205-979-1110

TUBE

7

198-911-4610

TANK

7

145-Z79-4860

BOLT

8

205-979-1220

BRACKET

9

205-979-1230

CLIP

10

01643-31032

WASHER

11

01599-01011

NUT

12

205-979-1130

HOSE

13

08034-00519

BAND

14

176-911-4180

CLIP

15

01010-51220

BOLT

16

01643-31232

WASHER

17

205-62-55780

COVER

18

08034-00536

BAND

19

566-07-11450

TAPE

Выбрано товаров: 20