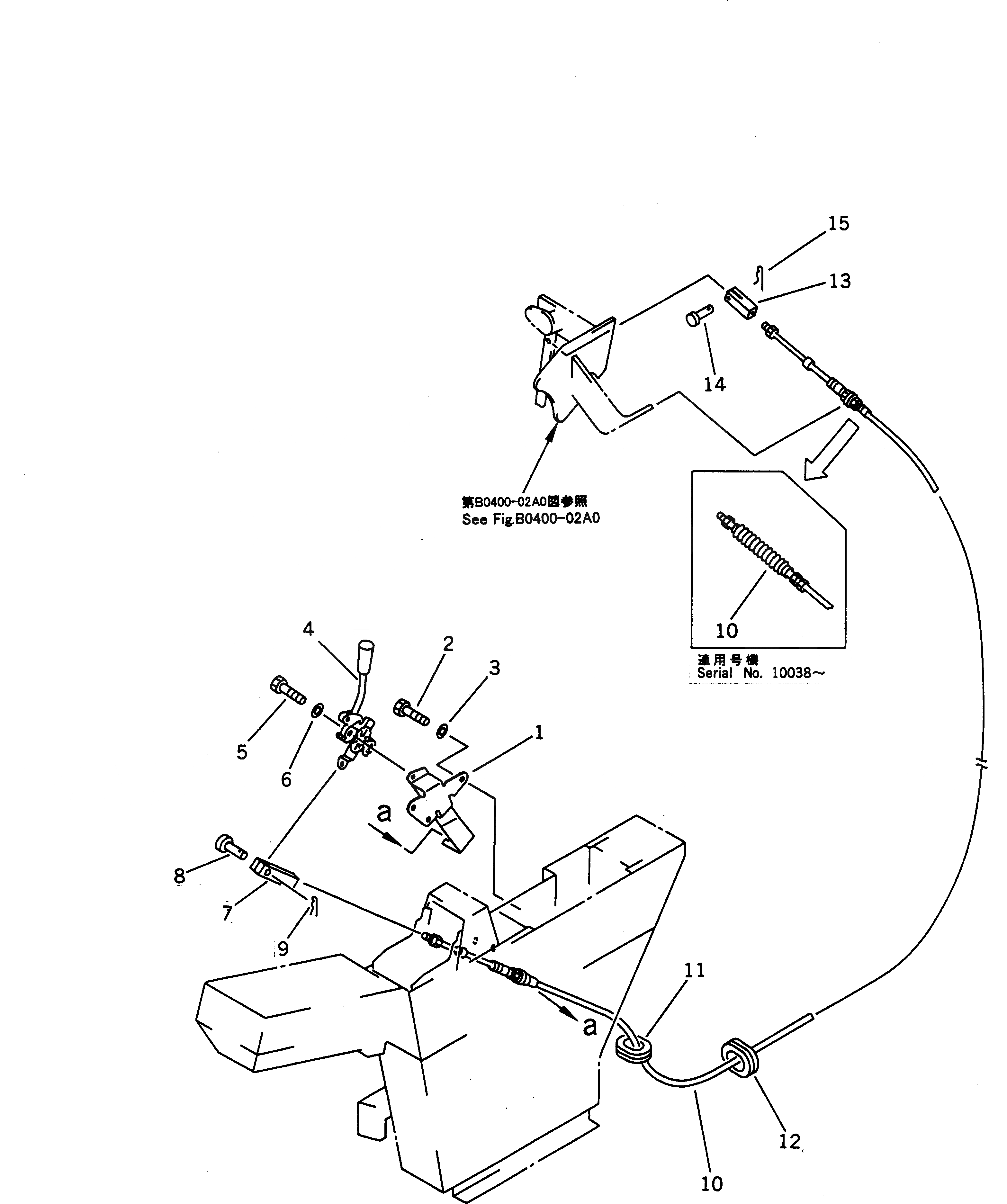
Запчасти Komatsu PW210-1 РЫЧАГ УПРАВЛ-Я ПОДАЧЕЙ ТОПЛИВА КАБИНА ОПЕРАТОРА И СИСТЕМА УПРАВЛЕНИЯ

Схема запчастей Komatsu PW210-1 - РЫЧАГ УПРАВЛ-Я ПОДАЧЕЙ ТОПЛИВА КАБИНА ОПЕРАТОРА И СИСТЕМА УПРАВЛЕНИЯ
FIT
1:1
100%

Артикул

Название

Примечание

Количество

1

207-43-34190

BRACKET

2

01010-80820

BOLT

2

01010-50820

BOLT

3

01643-30823

WASHER

4

207-43-34230

LEVER

5

01010-80825

BOLT

5

01010-50825

BOLT

6

01643-30823

WASHER

7

04211-20634

YOKE

8

04205-10618

PIN

9

04052-00633

PIN,SNAP

10

205-43-71162

CABLE

10

205-43-71161

CABLE

11

176-911-4160

GROMMET

12

20K-43-11420

GROMMET

13

201-43-11460

YOKE

14

04205-10622

PIN

15

04052-00633

PIN,SNAP

Выбрано товаров: 18