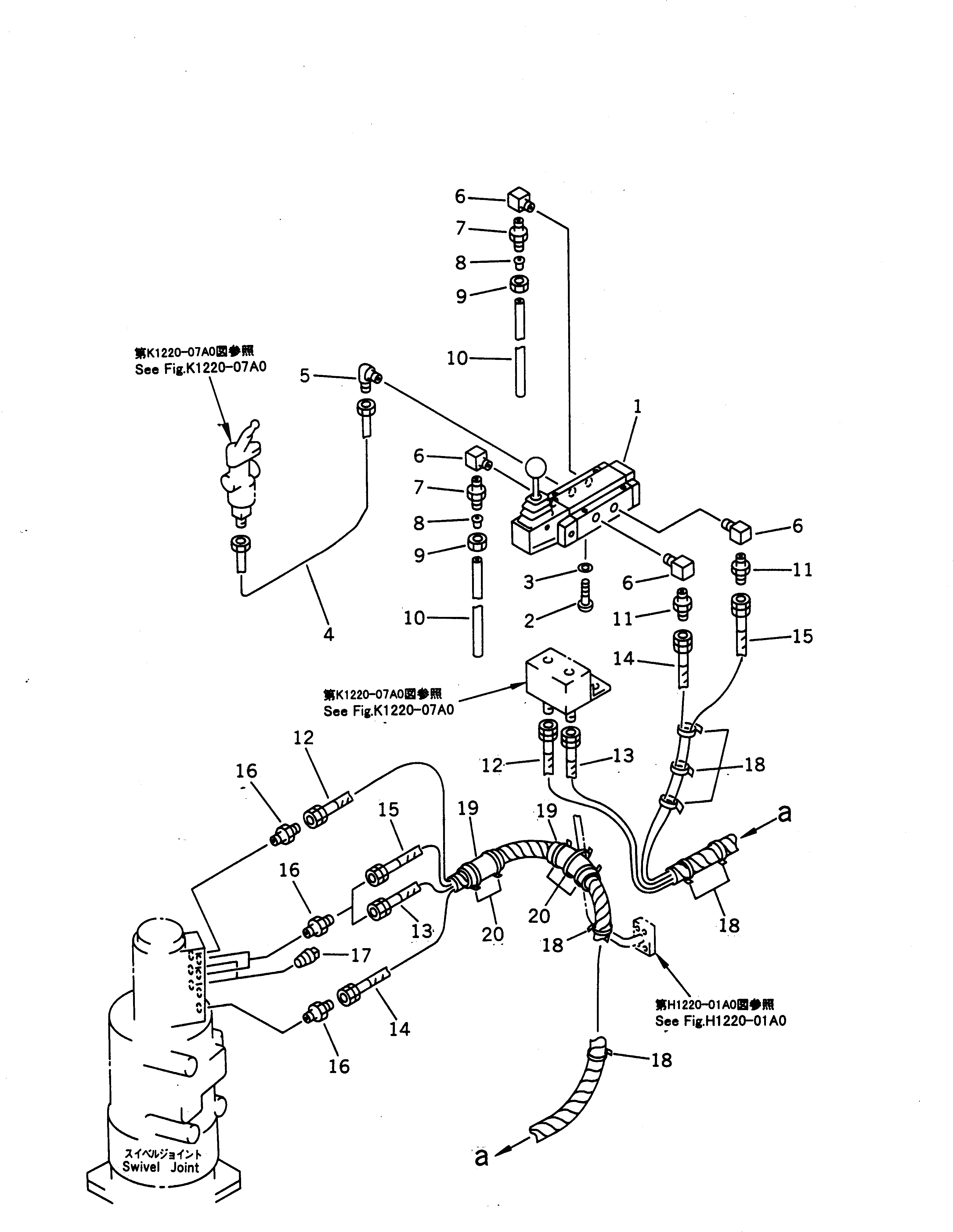
Запчасти Komatsu PW210-1 ВЕРХН. ВОЗДУХОВОД (SPEED SELECT ЛИНИЯ) КАБИНА ОПЕРАТОРА И СИСТЕМА УПРАВЛЕНИЯ

Схема запчастей Komatsu PW210-1 - ВЕРХН. ВОЗДУХОВОД (SPEED SELECT ЛИНИЯ) КАБИНА ОПЕРАТОРА И СИСТЕМА УПРАВЛЕНИЯ
FIT
1:1
100%

Артикул

Название

Примечание

Количество

1

20G-68-11210

VALVE ASS'Y

2

01220-40540

SCREW

3

01641-20508

WASHER

4

20K-68-11290

TUBE

5

281-35-13290

ELBOW

6

20G-68-12930

ELBOW

7

07836-00413

CONNECTOR

8

07831-00411

SLEEVE

9

07832-00410

NUT

10

07822-00408

TUBE

11

07238-10210

CONNECTOR

|$12

20K-68-11460

HOSE ASS'Y

12

07102-20216

HOSE,(BLUE)

13

07102-20216

HOSE,(GREEN)

14

07102-20222

HOSE,(BLACK)

15

07102-20222

HOSE

16

07238-10210

CONNECTOR

16

572-62-11510

NIPPLE

17

07042-30211

PLUG

18

08034-00536

BAND

19

205-62-53780

COVER

20

08034-00536

BAND

Выбрано товаров: 22