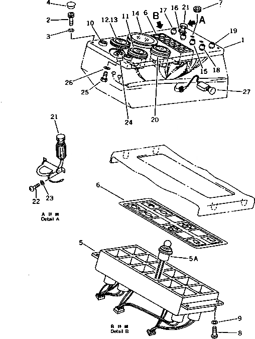
Запчасти Komatsu PW210-1 ПАНЕЛЬ ПРИБОРОВ (ПЕРЕДН. ) (ДЛЯ РУЛЕВ. УПРАВЛЕНИЕ АВТОМАТИЧ.-SELECT) КАБИНА ОПЕРАТОРА И СИСТЕМА УПРАВЛЕНИЯ

Схема запчастей Komatsu PW210-1 - ПАНЕЛЬ ПРИБОРОВ (ПЕРЕДН. ) (ДЛЯ РУЛЕВ. УПРАВЛЕНИЕ АВТОМАТИЧ.-SELECT) КАБИНА ОПЕРАТОРА И СИСТЕМА УПРАВЛЕНИЯ
FIT
1:1
100%

Артикул

Название

Примечание

Количество

1

20G-06-12112

PANEL

2

01220-40616

SCREW

3

01641-20608

WASHER

4

7861-21-1190

CAP

5

20K-06-11310

LAMP ASS'Y

5A

21T-06-16620

LAMP ASS'Y

6

20K-06-11340

PLATE

7

09415-00706

CAP

8

01220-40410

SCREW

9

01641-20405

WASHER

10

22W-06-13270

LAMP,INDICATOR

11

20D-68-12630

GAUGE,AIR PRESSURE

11

08111-02430

BULB, 3W

12

208-06-11280

GAUGE,WATER TEMPERATURE

12

08111-12430

BULB, 3W

13

20K-06-11450

WIRING HARNESS

14

20D-06-41140

TACHOMETER

14

08111-02430

BULB, 3W

15

205-06-71321

SWITCH,HEATER

16

205-06-71331

SWITCH,LAMP

16

205-06-71650

KNOB

17

205-06-71690

SWITCH ASS'Y,WIPER

18

20G-06-12330

SWITCH,WORK, PARKING

19

205-06-72160

SWITCH,MODE

20

207-06-31270

GAUGE,FUEL

20

08111-12430

BULB, 3W

21

195-822-6151

LIGHTER

22

01220-40408

SCREW

23

01641-20405

WASHER

24

205-06-51290

CONDENSER

25

01010-80816

BOLT

25

01010-50816

BOLT

26

01602-20825

WASHER,SPRING

27

20G-06-12480

SWITCH,HAZARD

Выбрано товаров: 34