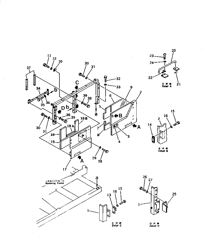
Запчасти Komatsu PW210-1 MACHINERY ОБСТАНОВКА(ЛЕВ. ДВЕРЬ)(С КОНДИЦИОНЕРОМ)(№-) ЧАСТИ КОРПУСА

Схема запчастей Komatsu PW210-1 - MACHINERY ОБСТАНОВКА(ЛЕВ. ДВЕРЬ)(С КОНДИЦИОНЕРОМ)(№-) ЧАСТИ КОРПУСА
FIT
1:1
100%

Артикул

Название

Примечание

Количество

1

205-978-7340

FRAME

2

205-54-75822

DOOR

2A

205-54-64160

HINGE

3

205-54-76250

LOCK

4

205-54-76280

ROTOR ASS'Y

5

205-54-75691

SHEET

6

205-54-75681

SHEET

7

205-54-75740

SHEET

8

205-54-75671

SHEET

9

205-54-75661

SHEET

10

209-54-63260

BRACKET

10

205-54-75860

BRACKET

11

01010-51025

BOLT

12

01643-31032

WASHER

13

205-54-51970

DOVE TAIL

14

205-54-53550

DOVE TAIL

15

01010-50616

BOLT

16

01643-30623

WASHER

17

205-978-7350

DOOR

18

205-978-7360

SHEET

18A

205-978-7380

SHEET

18B

205-978-7370

SHEET

19

205-54-75592

SHEET

20

205-54-64140

BAR

21

04050-13018

PIN,COTTER

22

20B-54-12210

SPRING

23

01220-40408

SCREW

24

01641-20405

WASHER

25

205-54-75181

BRACKET

26

01010-51020

BOLT

27

01643-31032

WASHER

28

01010-51230

BOLT

29

01643-31232

WASHER

30

01010-51225

BOLT

31

01643-31232

WASHER

32

01010-51230

BOLT

33

01643-31232

WASHER

34

205-978-7330

BRACKET

35

01010-51225

BOLT

36

01643-31232

WASHER

37

205-979-6211

PLATE

38

01010-51235

BOLT

39

01643-31232

WASHER

Выбрано товаров: 43