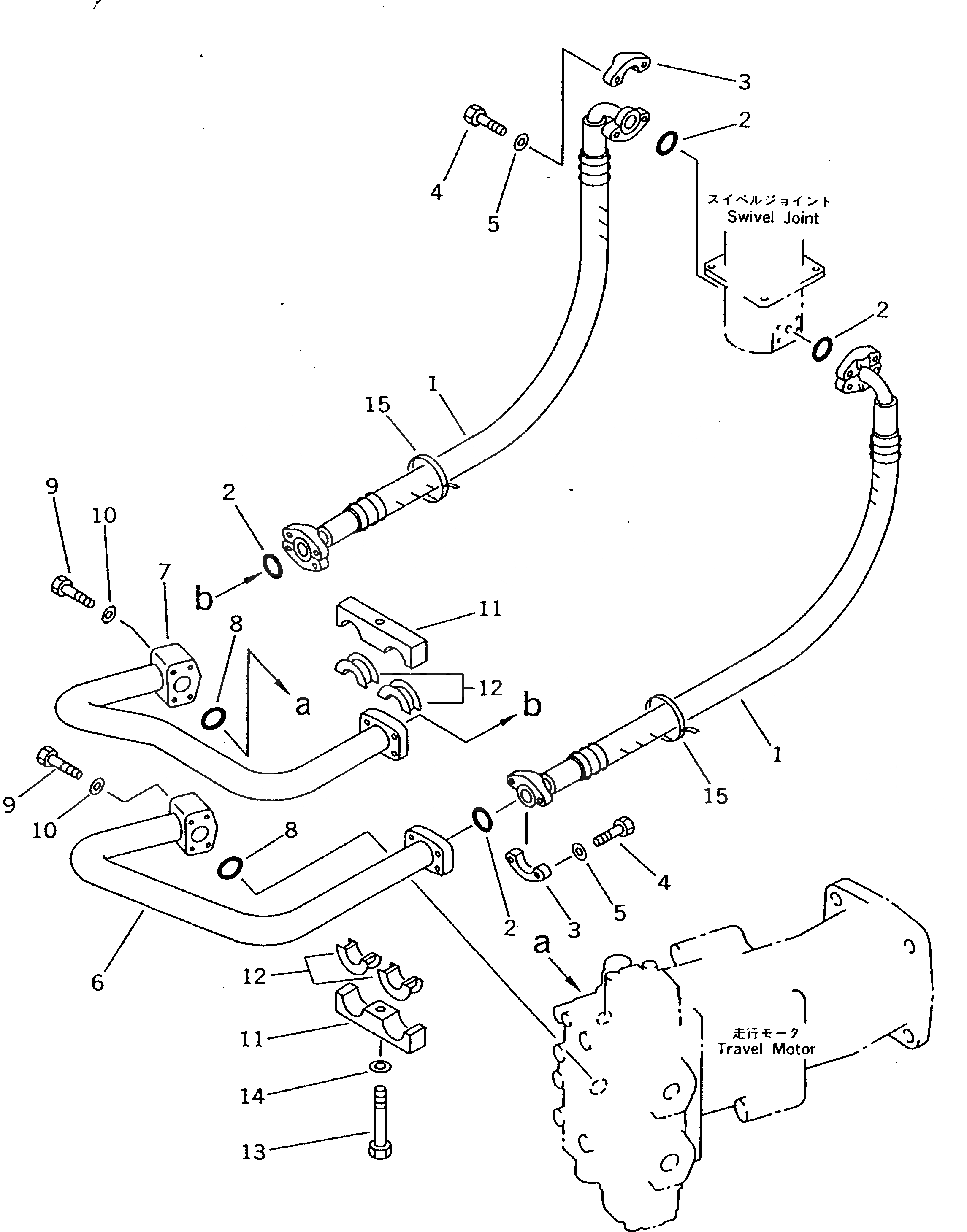
Запчасти Komatsu PW210-1 МОТОР ХОДА ТРУБЫ (ПОВОРОТНОЕ СОЕДИНЕНИЕ TO/FROM МОТОР) НИЖНЯЯ ГИДРОЛИНИЯ И ЛИНИЯ ХОДА

Схема запчастей Komatsu PW210-1 - МОТОР ХОДА ТРУБЫ (ПОВОРОТНОЕ СОЕДИНЕНИЕ TO/FROM МОТОР) НИЖНЯЯ ГИДРОЛИНИЯ И ЛИНИЯ ХОДА
FIT
1:1
100%

Артикул

Название

Примечание

Количество

1

07098-21009

HOSE

2

07000-13032

O-RING

3

07371-31049

FLANGE,SPLIT

4

07372-21035

BOLT

5

01643-51032

WASHER

6

20K-62-13121

TUBE

7

20K-62-13111

TUBE

8

07000-13035

O-RING

9

01010-81060

BOLT

9

01010-51060

BOLT

10

01643-51032

WASHER

11

205-62-54543

CLAMP

12

205-62-54622

SEAT

13

01010-81285

BOLT

13

01010-51285

BOLT

14

01643-31232

WASHER

15

08034-00536

BAND

Выбрано товаров: 17