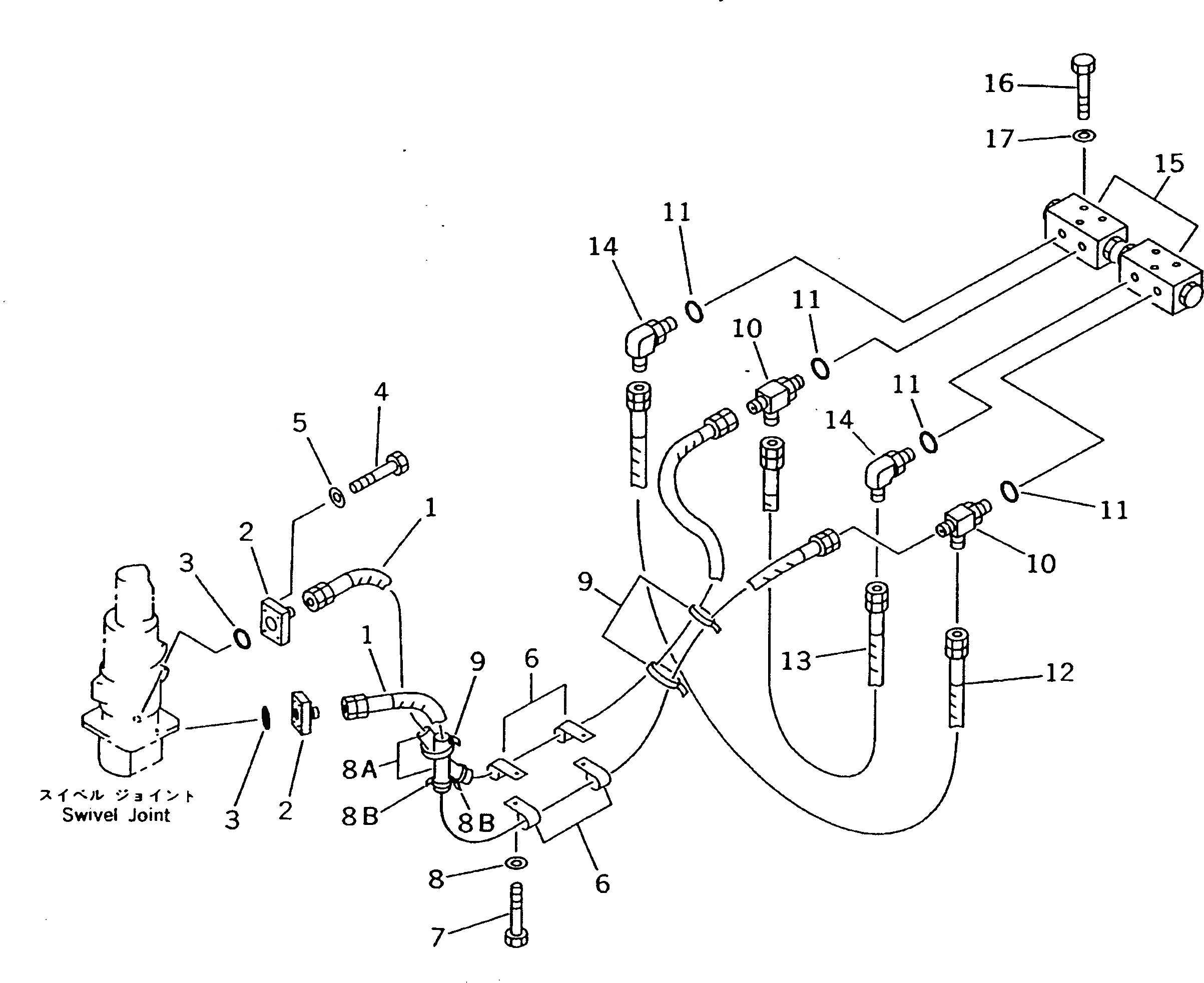
Запчасти Komatsu PW210-1 ОПОРА ТРУБЫ (ПОВОРОТНОЕ СОЕДИНЕНИЕ TO/FROM КОНТРОЛЬ КЛАПАН)(№-8) НИЖНЯЯ ГИДРОЛИНИЯ И ЛИНИЯ ХОДА

Схема запчастей Komatsu PW210-1 - ОПОРА ТРУБЫ (ПОВОРОТНОЕ СОЕДИНЕНИЕ TO/FROM КОНТРОЛЬ КЛАПАН)(№-8) НИЖНЯЯ ГИДРОЛИНИЯ И ЛИНИЯ ХОДА
FIT
1:1
100%

Артикул

Название

Примечание

Количество

1

07096-00419

HOSE

2

20K-62-15430

FLANGE

3

07000-13022

O-RING

4

01010-50830

BOLT

5

01643-50823

WASHER

6

08036-02514

CLIP

7

01010-51220

BOLT

8

01643-31232

WASHER

8A

205-62-74660

COVER

8B

08034-00823

BAND

9

08034-00834

BAND

10

20K-62-13251

TEE

11

07002-12434

O-RING

12

07096-00407

HOSE

13

07096-00406

HOSE

14

203-62-32950

ELBOW

15

20D-60-11900

CHECK VALVE ASS'Y

16

01010-50870

BOLT

17

01643-30823

WASHER

Выбрано товаров: 19