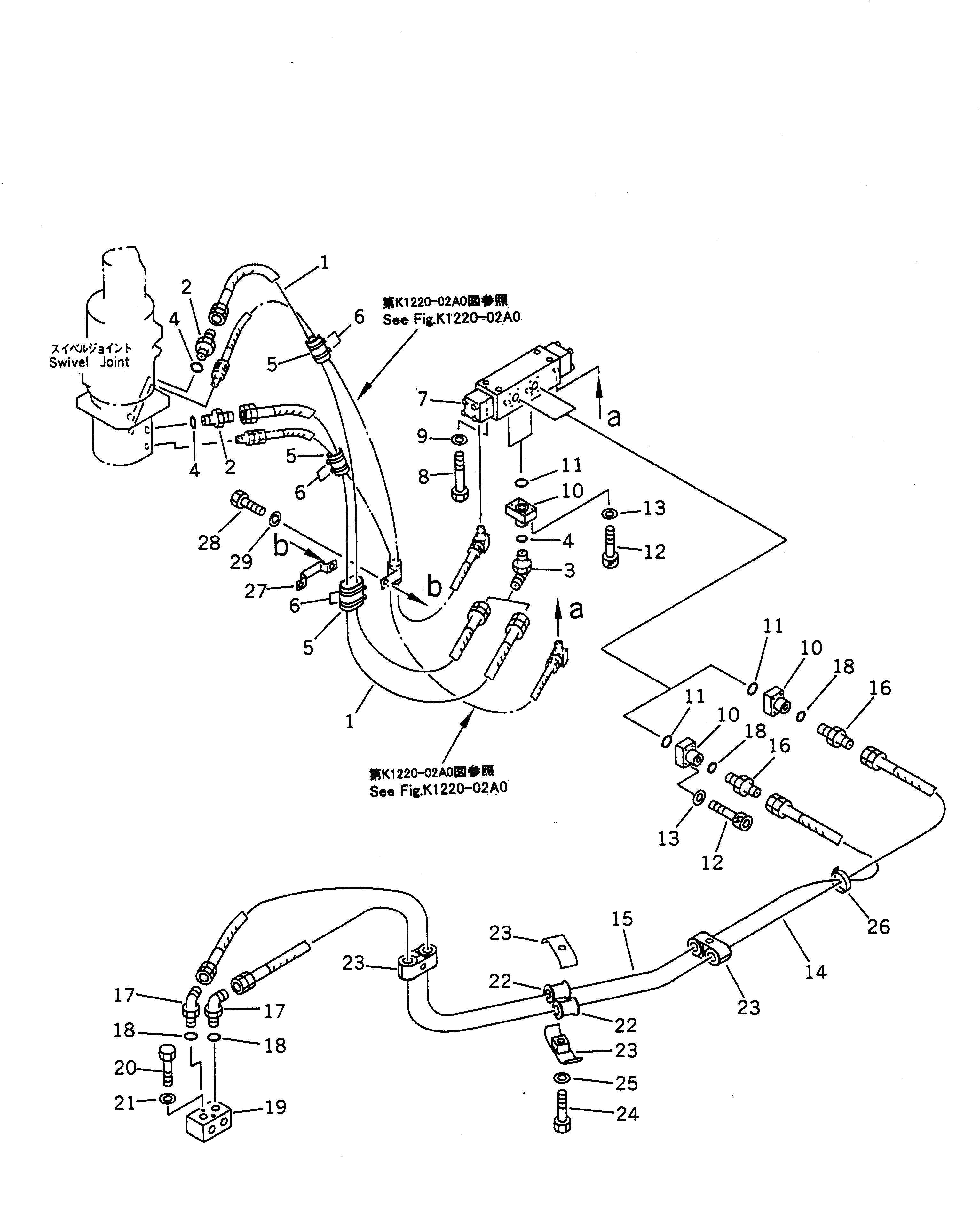
Запчасти Komatsu PW210-1 ОПОРА ТРУБЫ (С INDEPENDENT ПЕРЕДН./ЗАДН. ОПОРА) НИЖНЯЯ ГИДРОЛИНИЯ И ЛИНИЯ ХОДА

Схема запчастей Komatsu PW210-1 - ОПОРА ТРУБЫ (С INDEPENDENT ПЕРЕДН./ЗАДН. ОПОРА) НИЖНЯЯ ГИДРОЛИНИЯ И ЛИНИЯ ХОДА
FIT
1:1
100%

Артикул

Название

Примечание

Количество

1

07096-00410

HOSE

2

07230-10422

UNION

3

07235-10422

ELBOW

4

07002-12034

O-RING

5

205-62-74660

COVER

6

08034-00834

BAND

7

20G-60-12120

VALVE ASS'Y

8

01010-81090

BOLT

8

01010-51090

BOLT

9

01643-31032

WASHER

10

20K-911-1350

BLOCK

11

07000-13022

O-RING

12

01252-40840

BOLT

13

01643-50823

WASHER

14

07096-00426

HOSE

15

07096-00428

HOSE

16

07230-20422

UNION

17

07235-10422

ELBOW

18

07002-12034

O-RING

19

20K-911-1180

BLOCK

20

01010-81270

BOLT

20

01010-51270

BOLT

21

01643-31232

WASHER

22

198-04-41220

CUSHION

23

198-04-41190

CLAMP

24

01010-81265

BOLT

24

01010-51265

BOLT

25

01643-31232

WASHER

26

08034-00834

BAND

27

20K-911-1310

CLIP

28

01010-81225

BOLT

28

01010-51225

BOLT

29

01643-31232

WASHER

Выбрано товаров: 33