Запчасти Komatsu PW210-1 ЦИЛИНДР РУКОЯТИ(С ПРЕДОТВРАЩ. СМЕЩЕНИЯ) (ДЛЯ США) РАБОЧЕЕ ОБОРУДОВАНИЕ

Схема запчастей Komatsu PW210-1 - ЦИЛИНДР РУКОЯТИ(С ПРЕДОТВРАЩ. СМЕЩЕНИЯ) (ДЛЯ США) РАБОЧЕЕ ОБОРУДОВАНИЕ
FIT
1:1
100%

Артикул

Название

Примечание

Количество

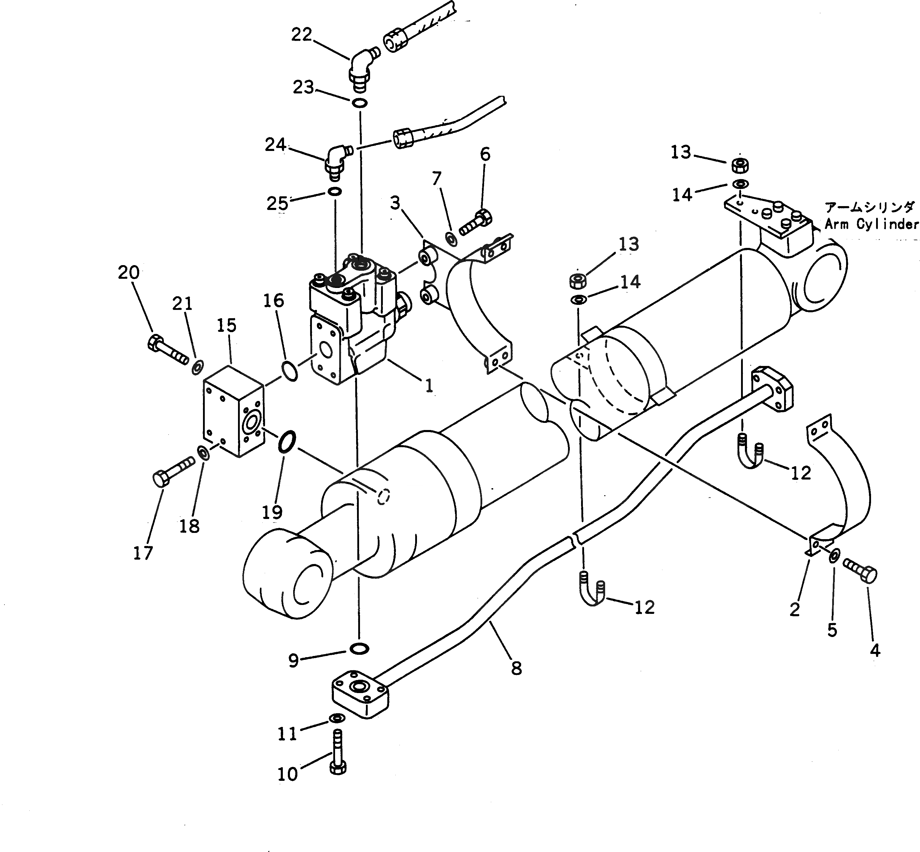
1

702-21-31000

LOCK VALVE ASS'Y

2

205-62-72430

CLAMP

3

205-62-72420

BRACKET

4

01010-81030

BOLT

4

01010-51030

BOLT

5

01643-51032

WASHER

6

01010-81045

BOLT

6

01010-51045

BOLT

7

01643-31032

WASHER

8

205-62-72450

TUBE

9

07000-13030

O-RING

10

01010-81055

BOLT

10

01010-51055

BOLT

11

01643-31032

WASHER

12

07283-22738

CLIP

13

01599-01011

NUT

14

01643-31032

WASHER

15

205-62-72410

BLOCK

16

07000-13032

O-RING

17

01010-81070

BOLT

17

01010-51070

BOLT

18

01643-31032

WASHER

19

07000-13030

O-RING

20

01010-80885

BOLT

20

01010-50885

BOLT

21

01643-30823

WASHER

22

07235-10315

ELBOW

23

07002-02034

O-RING

24

07235-10210

ELBOW

25

07002-01423

O-RING

Выбрано товаров: 30