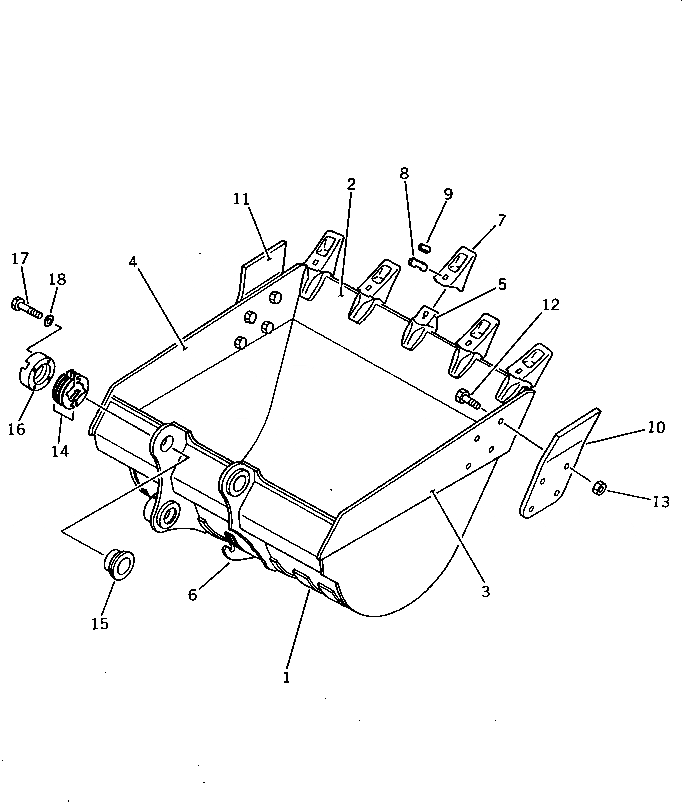
Запчасти Komatsu PW210-1 КОВШ¤ .8M¤ ШИР. MM (С КРЮК)(№-) РАБОЧЕЕ ОБОРУДОВАНИЕ

Схема запчастей Komatsu PW210-1 - КОВШ¤ .8M¤ ШИР. MM (С КРЮК)(№-) РАБОЧЕЕ ОБОРУДОВАНИЕ
FIT
1:1
100%

Артикул

Название

Примечание

Количество

1

205-920-7260

BUCKET

2

205-920-7220

PLATE (WELDED)

3

205-70-74161

PLATE,L.H. (WELDED)

4

205-70-74171

PLATE,R.H. (WELDED)

5

205-70-74261

ADAPTER (WELDED)

6

205-70-69570

HOOK (WELDED)

7

205-70-74272

TOOTH

8

205-70-74281

PIN

9

205-70-74291

LOCK

10

205-70-74180

CUTTER,L.H.

11

205-70-74190

CUTTER,R.H.

12

176-32-11210

BOLT

13

01803-02430

NUT

14

205-70-00101

SHIM ASS'Y

14

SHIM, 0.5MM

14

SHIM, 1.0MM

15

205-70-74381

SPACER

16

205-70-74391

PLATE

17

01010-52055

BOLT

18

01643-32060

WASHER

Выбрано товаров: 20