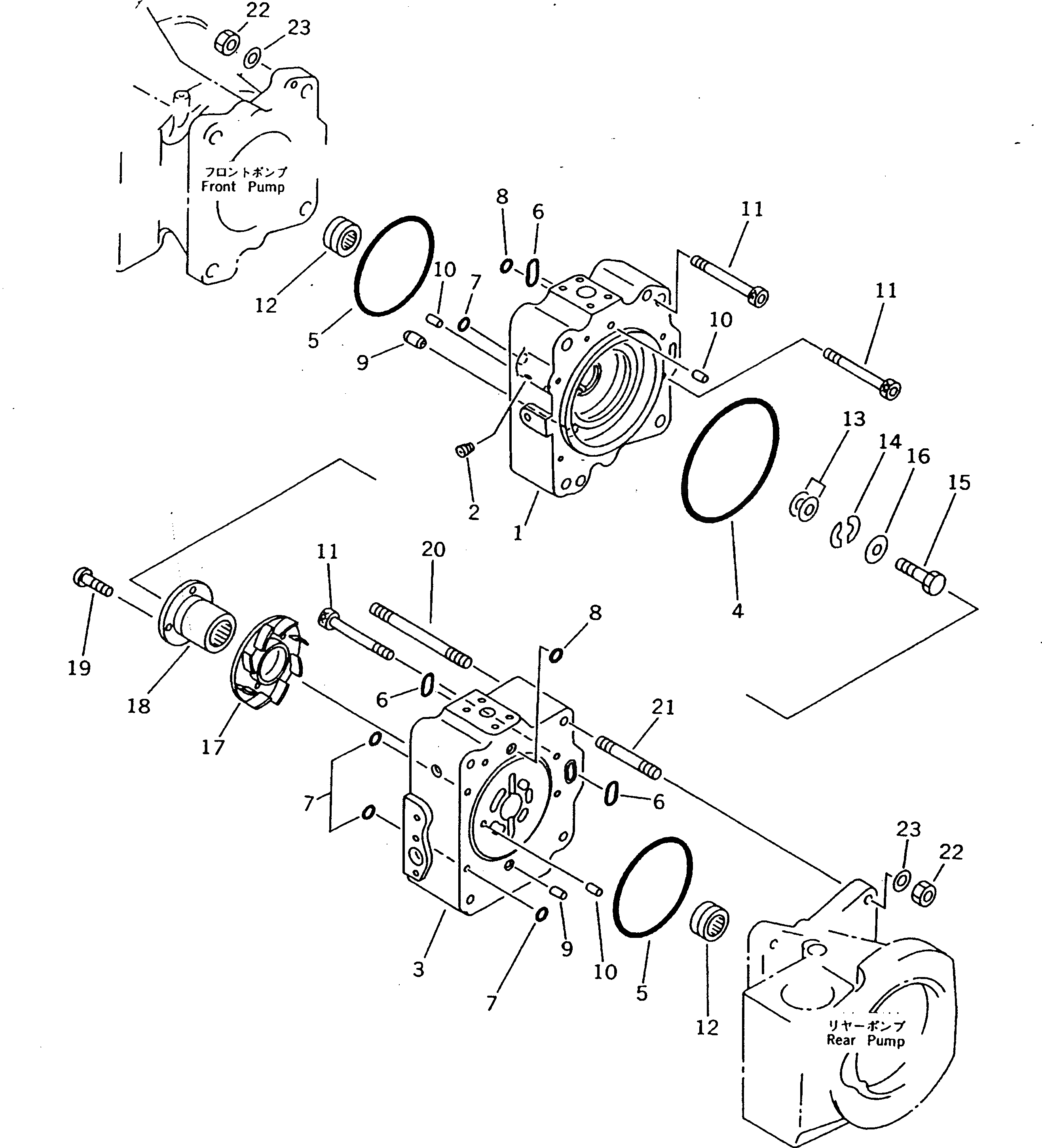
Запчасти Komatsu PW210-1 ОСНОВН. НАСОС (/) ОСНОВН. КОМПОНЕНТЫ И РЕМКОМПЛЕКТЫ

Схема запчастей Komatsu PW210-1 - ОСНОВН. НАСОС (/) ОСНОВН. КОМПОНЕНТЫ И РЕМКОМПЛЕКТЫ
FIT
1:1
100%

Артикул

Название

Примечание

Количество

|$2

708-25-02071

PUMP ASS'Y

|$3

708-25-02070

PUMP ASS'Y

|$5

708-25-01250

PUMP SUB ASS'Y

|$6

708-25-00110

END CAP ASS'Y,FRONT

1

CAP

2

PLUG

3

708-25-12521

CAP

4

07000-05165

O-RING

5

07000-02135

O-RING

6

07000-03032

O-RING

7

07000-11009

O-RING

8

07000-12015

O-RING

9

6130-21-1910

PIN,DOWEL

10

720-68-19610

PIN

11

708-25-12530

BOLT

12

708-25-12740

BEARING

13

708-25-05021

SHIM KIT

13

SHIM, 0.1MM

13

SHIM, 0.15MM

13

SHIM, 0.2MM

13

SHIM, 0.5MM

14

708-25-12950

PLATE

15

706-74-40320

BOLT

16

01643-31032

WASHER

17

708-25-12542

IMPELLER

18

708-25-12552

COUPLING

19

706-73-42270

SCREW

20

01141-81620

STUD

21

01140-81645

STUD

22

01582-01613

NUT

23

01643-31645

WASHER

Выбрано товаров: 31