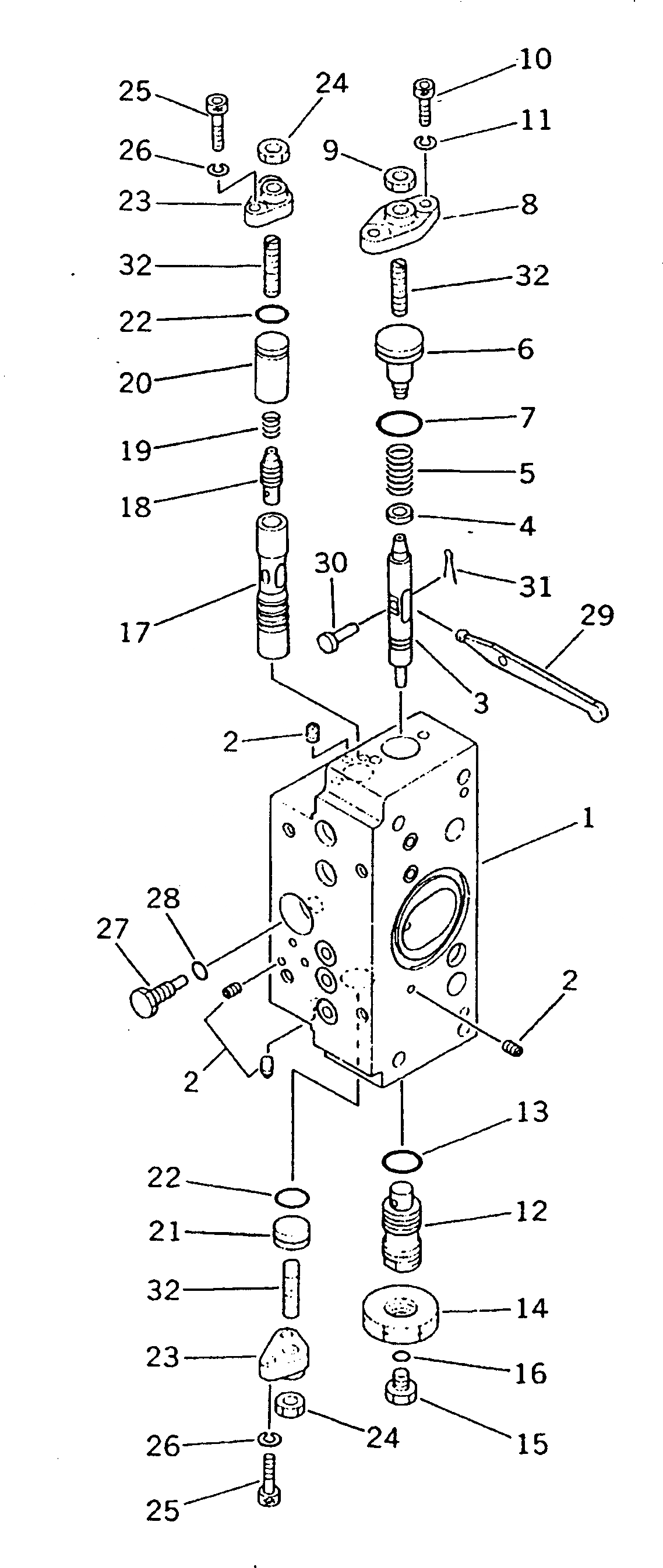
Запчасти Komatsu PW210-1 ОСНОВН. НАСОС (9/) ОСНОВН. КОМПОНЕНТЫ И РЕМКОМПЛЕКТЫ

Схема запчастей Komatsu PW210-1 - ОСНОВН. НАСОС (9/) ОСНОВН. КОМПОНЕНТЫ И РЕМКОМПЛЕКТЫ
FIT
1:1
100%

Артикул

Название

Примечание

Количество

|$2

708-25-02071

PUMP ASS'Y

|$3

708-25-02070

PUMP ASS'Y

|$5

708-25-07421

SERVO VALVE ASS'Y

|$6

708-25-07420

SERVO VALVE ASS'Y

|$7

708-25-16200

VALVE ASS'Y

|$8

708-23-07011

BODY ASS'Y

1

BODY

2

EXPANDER

3

708-25-15120

PISTON

4

708-25-15130

SEAT

5

708-25-15140

SPRING

6

708-25-15420

PLUG

7

07000-02018

O-RING

8

708-25-15150

COVER

9

01580-10806

NUT

10

708-25-15320

BOLT

11

01602-20619

WASHER,SPRING

12

708-25-15171

PLUG

13

07002-02034

O-RING

14

07239-12009

NUT

15

07040-11007

PLUG

16

07002-01023

O-RING

17

708-25-15180

SLEEVE

18

708-25-15280

SPOOL

19

708-25-15310

SPRING

20

708-25-15330

SPACER

21

708-25-15430

PLUG

22

07000-02012

O-RING

23

708-25-15250

COVER

24

01580-10806

NUT

25

708-25-15320

BOLT

26

01602-20619

WASHER,SPRING

27

708-25-15260

PLUG

28

07002-00823

O-RING

29

708-25-15270

ARM

30

04205-00514

PIN

31

04050-01210

PIN,COTTER

32

708-25-15340

SCREW

Выбрано товаров: 38