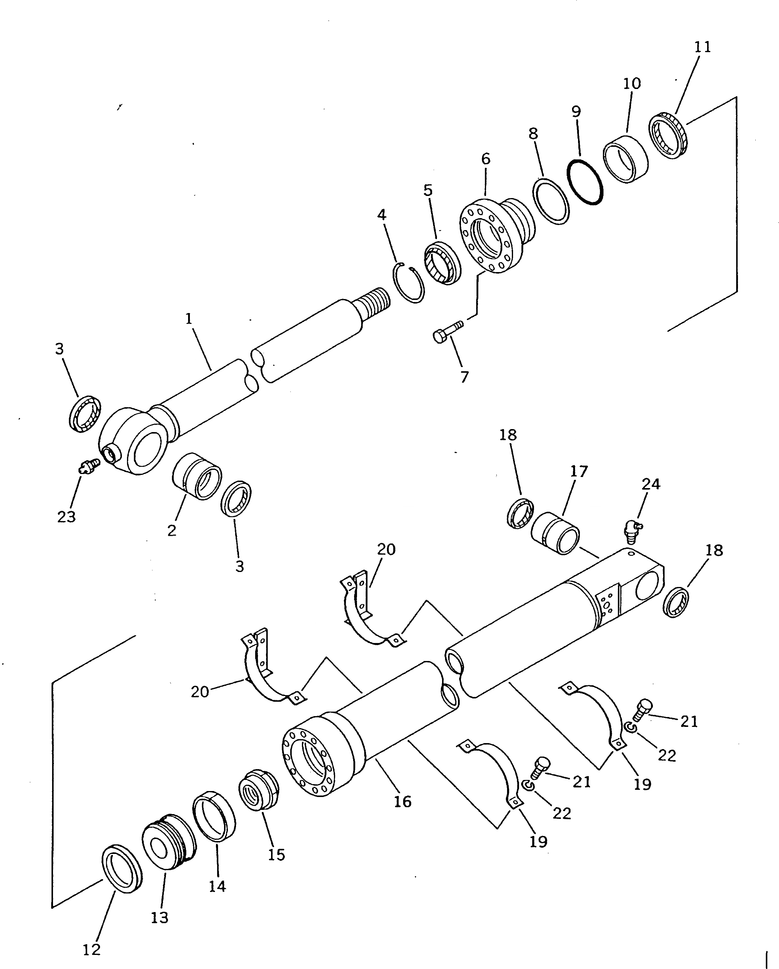
Запчасти Komatsu PW210-1 ЦИЛИНДР КОВША (ДЛЯ 8MM РУКОЯТЬ) ОСНОВН. КОМПОНЕНТЫ И РЕМКОМПЛЕКТЫ

Схема запчастей Komatsu PW210-1 - ЦИЛИНДР КОВША (ДЛЯ 8MM РУКОЯТЬ) ОСНОВН. КОМПОНЕНТЫ И РЕМКОМПЛЕКТЫ
FIT
1:1
100%

Артикул

Название

Примечание

Количество

|$0

205-63-72301

CYLINDER ASS'Y

1

205-63-72320

ROD,PISTON

2

707-76-70120

BUSHING

3

21K-70-12180

SEAL,DUST (KIT)

4

707-75-10020

RING,SNAP

5

707-56-85510

SEAL,DUST (KIT)

6

707-27-12470

HEAD,CYLINDER

7

01010-81655

BOLT

8

07146-02116

RING,BACK-UP (KIT)

9

07000-12115

O-RING (KIT)

10

707-52-10850

BUSHING

11

707-51-85211

PACKING,ROD (KIT)

12

707-44-12180

RING,PISTON (KIT)

13

707-36-12360

PISTON

14

07155-01230

RING,WEAR (KIT)

15

707-68-10580

NUT

16

205-63-72341

CYLINDER

17

707-76-70110

BUSHING

18

07145-00070

SEAL,DUST (KIT)

19

707-88-99240

BAND

20

707-88-99270

BAND

21

01010-51035

BOLT

22

01602-21030

WASHER,SPRING

23

07020-00000

FITTING,GREASE

24

07020-00900

FITTING,GREASE

Выбрано товаров: 25