Запчасти Komatsu PW210-1 ОСНОВН. КЛАПАН (/7) ОСНОВН. КОМПОНЕНТЫ И РЕМКОМПЛЕКТЫ

Схема запчастей Komatsu PW210-1 - ОСНОВН. КЛАПАН (/7) ОСНОВН. КОМПОНЕНТЫ И РЕМКОМПЛЕКТЫ
FIT
1:1
100%

Артикул

Название

Примечание

Количество

|$7

709-79-12307

CONTROL VALVE ASS'Y

|$8

709-79-12306

CONTROL VALVE ASS'Y

|$9

709-79-12305

CONTROL VALVE ASS'Y

|$10

709-79-12304

CONTROL VALVE ASS'Y

|$11

709-79-12303

CONTROL VALVE ASS'Y

|$12

709-79-12302

CONTROL VALVE ASS'Y

|$13

709-79-12301

CONTROL VALVE ASS'Y

|$15

709-74-92304

VALVE ASS'Y

|$16

709-74-92303

VALVE ASS'Y

|$17

709-74-92302

VALVE ASS'Y

|$18

709-74-92301

VALVE ASS'Y

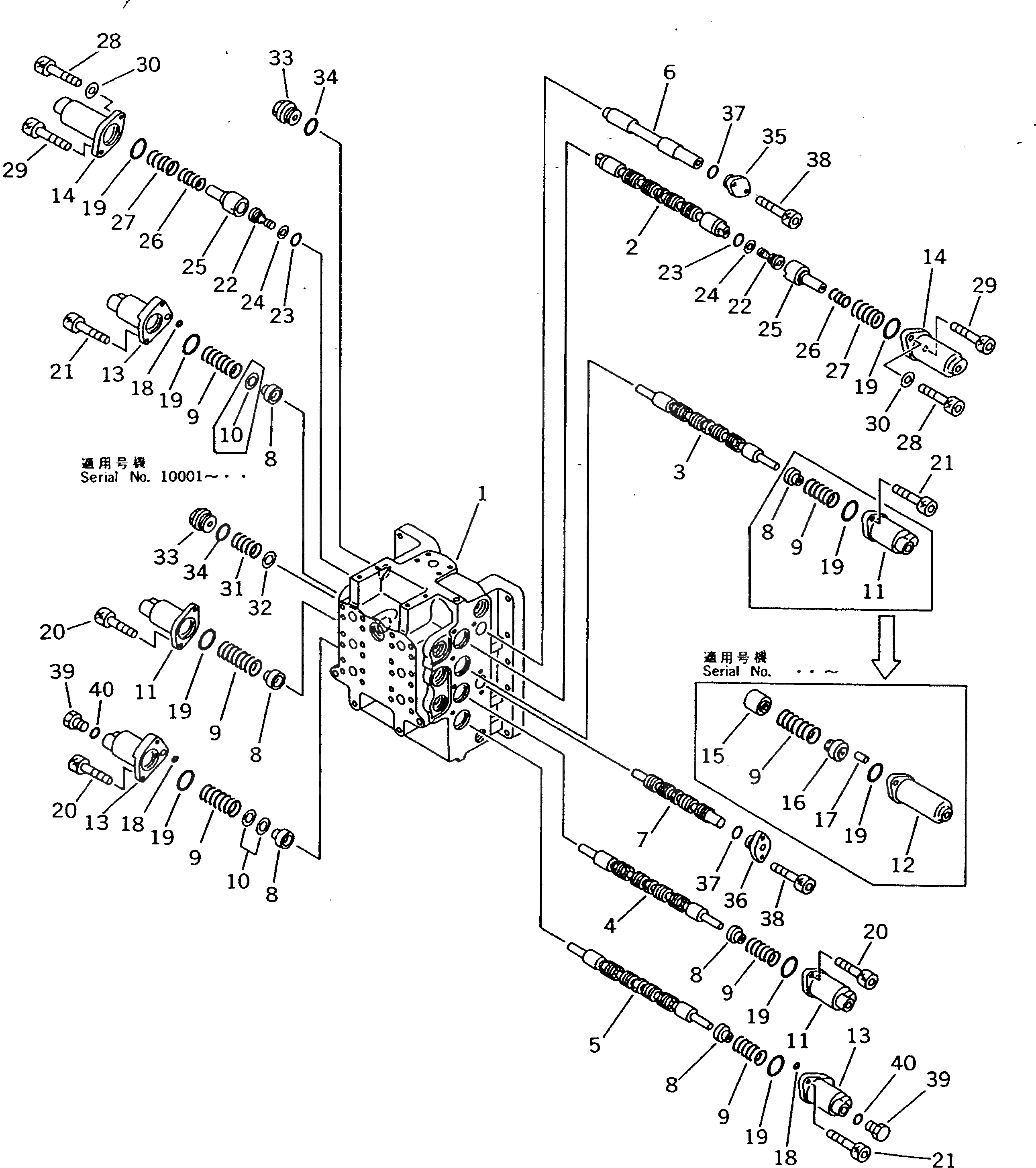
1

BODY,VALVE

2

SPOOL

3

SPOOL

3

SPOOL

4

SPOOL

5

SPOOL

6

SPOOL

7

SPOOL

8

709-74-92110

RETAINER

8

709-74-92110

RETAINER

9

709-74-92180

SPRING

10

709-74-92360

SHIM, 0.5MM

11

709-74-92120

CASE

11

709-74-92120

CASE

12

709-74-91980

CASE

13

709-74-92140

CASE

14

709-74-92540

CASE

15

709-74-91990

RETAINER

16

709-74-91970

SLEEVE

17

04022-04008

PIN

18

07000-12010

O-RING

19

709-74-92170

O-RING

20

01252-60820

BOLT

21

01252-60830

BOLT

22

709-74-92561

PLUG

23

07000-11008

O-RING

24

07001-01008

RING,BACK-UP

25

709-74-92571

RETAINER

26

709-74-92690

SPRING

27

709-74-92680

SPRING

28

01252-60825

BOLT

29

01252-60820

BOLT

30

01643-50823

WASHER

31

700-23-13130

SPRING

32

709-74-92270

WASHER

33

709-74-92220

PLUG

34

07002-13034

O-RING

35

709-74-92250

PLATE

36

709-74-92240

PLATE

37

07000-12018

O-RING

38

01252-60820

BOLT

39

07040-11409

PLUG

40

07002-01423

O-RING

Выбрано товаров: 54