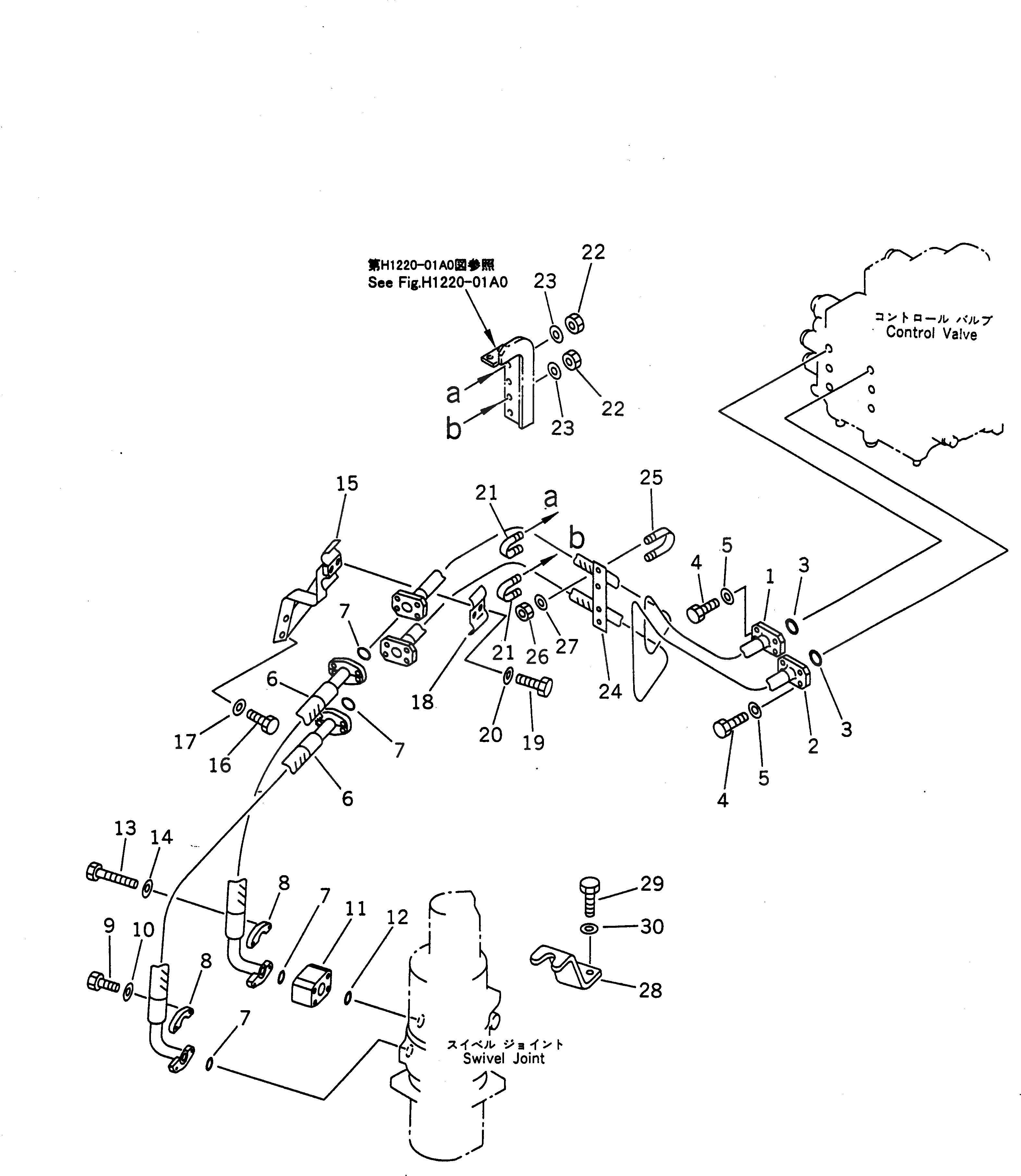
Запчасти Komatsu PW210-1 МОТОР ХОДА ТРУБЫ (КЛАПАН TO/FROM ПОВОРОТНОЕ СОЕДИНЕНИЕ) ГИДРАВЛИКА

Схема запчастей Komatsu PW210-1 - МОТОР ХОДА ТРУБЫ (КЛАПАН TO/FROM ПОВОРОТНОЕ СОЕДИНЕНИЕ) ГИДРАВЛИКА
FIT
1:1
100%

Артикул

Название

Примечание

Количество

1

20K-62-15171

TUBE

1

20K-62-15170

TUBE

2

20K-62-15181

TUBE

3

21T-09-11450

O-RING

4

01010-80830

BOLT

4

01010-50830

BOLT

5

01643-50823

WASHER

6

07098-01006

HOSE

7

07000-13032

O-RING

8

07371-31049

FLANGE

9

07372-21035

BOLT

10

01643-51032

WASHER

11

21T-62-12580

FLANGE,SPLIT

12

07000-13038

O-RING

13

205-62-74740

BOLT

14

01643-51032

WASHER

15

20K-62-15480

BRACKET

16

01010-81230

BOLT

16

01010-51230

BOLT

17

01643-31232

WASHER

18

205-62-71470

CLAMP

19

01010-81030

BOLT

19

01010-51030

BOLT

20

01643-31032

WASHER

21

07283-22738

CLIP

22

01599-01011

NUT

23

01643-31032

WASHER

24

205-62-71581

PLATE

25

07283-22738

CLIP

26

01599-01011

NUT

27

01643-31032

WASHER

28

20K-62-15271

BRACKET

28

420K-62-15270

BRACKET

29

01010-81640

BOLT

29

01010-51640

BOLT

29

41010-51235

BOLT

30

01643-31645

WASHER

30

41643-31232

WASHER

Выбрано товаров: 38