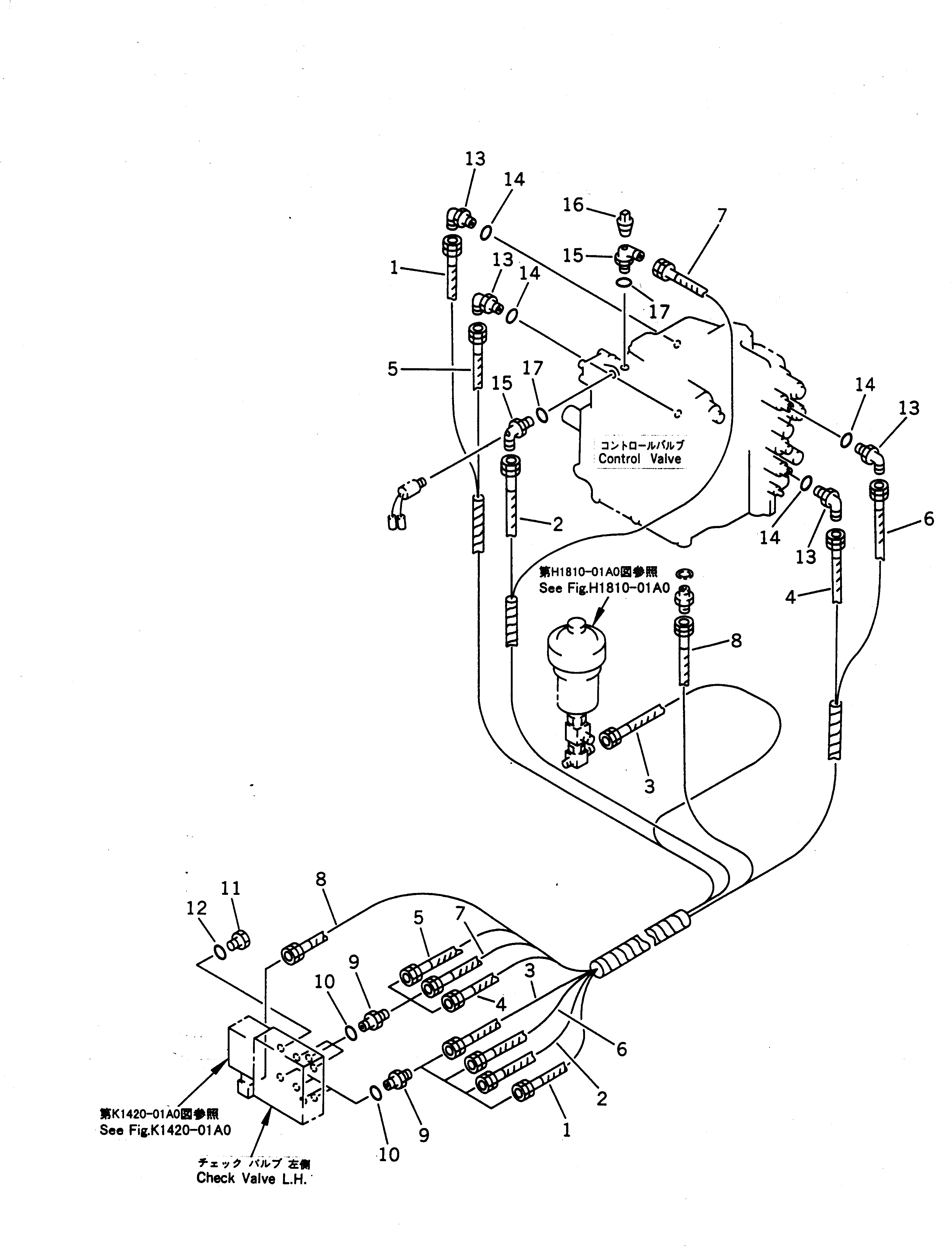
Запчасти Komatsu PW210-1 КЛАПАН PPCТРУБЫ (КОНТРОЛЬ КЛАПАН¤ ЛЕВ.) ГИДРАВЛИКА

Схема запчастей Komatsu PW210-1 - КЛАПАН PPCТРУБЫ (КОНТРОЛЬ КЛАПАН¤ ЛЕВ.) ГИДРАВЛИКА
FIT
1:1
100%

Артикул

Название

Примечание

Количество

|$1

20K-62-15420

HOSE ASS'Y

1

205-62-74510

HOSE,(WHITE)

2

205-62-71780

HOSE,(BROWN)

3

07102-20210

HOSE,(RED)

4

07102-20210

HOSE,(GREEN)

5

07102-20213

HOSE,(BLACK)

6

205-62-71710

HOSE,(YELLOW)

7

205-62-71720

HOSE

8

205-62-74310

HOSE,(BLUE)

9

07230-20210

UNION

9

07230-10210

UNION

10

07002-01423

O-RING

11

07040-11409

PLUG

12

07002-01423

O-RING

13

07235-10210

ELBOW

14

07002-01423

O-RING

15

07235-50210

ELBOW

16

07042-30108

PLUG

17

07002-01423

O-RING

Выбрано товаров: 19