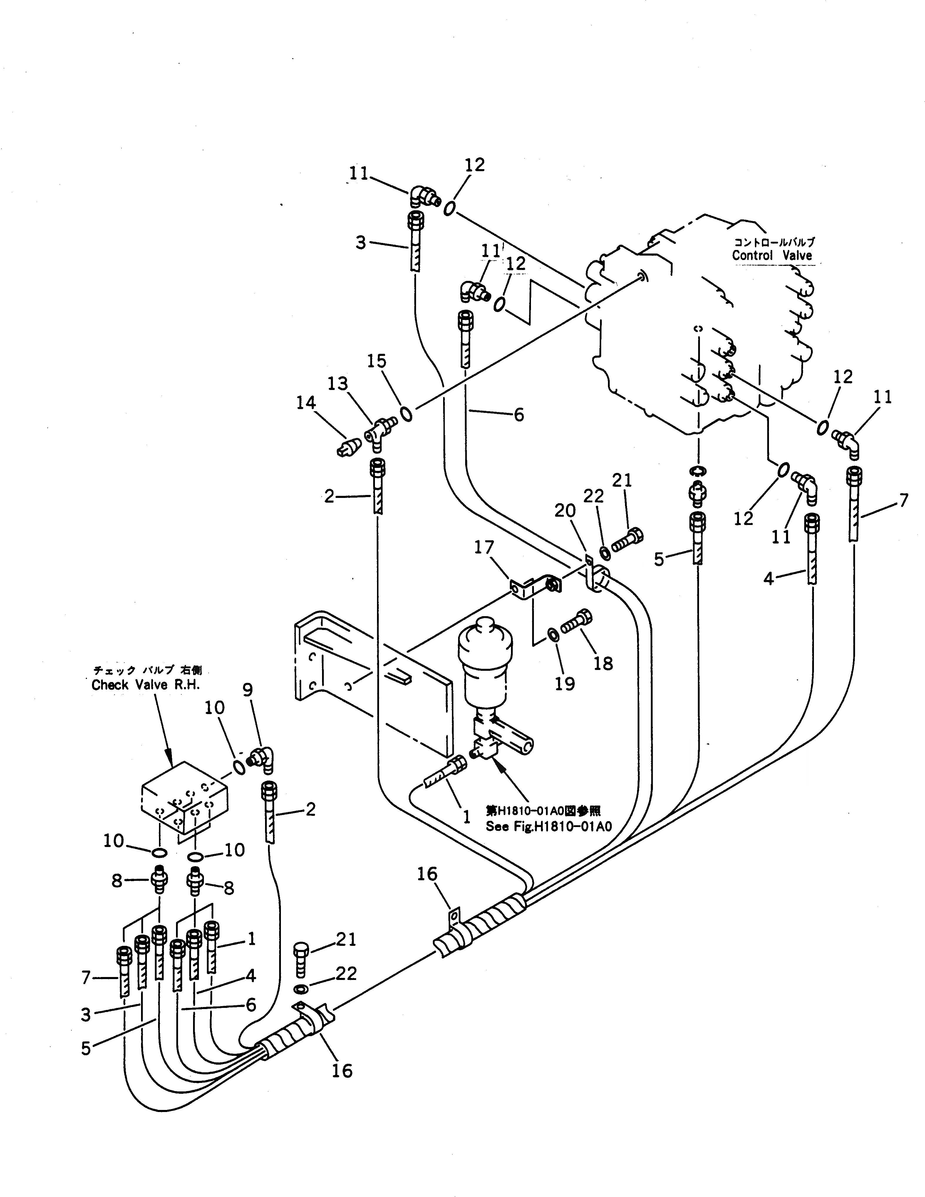
Запчасти Komatsu PW210-1 КЛАПАН PPCТРУБЫ (КОНТРОЛЬ КЛАПАН¤ ПРАВ.) ГИДРАВЛИКА

Схема запчастей Komatsu PW210-1 - КЛАПАН PPCТРУБЫ (КОНТРОЛЬ КЛАПАН¤ ПРАВ.) ГИДРАВЛИКА
FIT
1:1
100%

Артикул

Название

Примечание

Количество

|$1

205-62-74180

HOSE ASS'Y

1

205-62-74520

HOSE,(RED)

2

205-62-71740

HOSE

3

205-62-71810

HOSE,(YELLOW)

4

205-62-71790

HOSE,(BLACK)

5

205-62-74530

HOSE,(BLUE)

6

205-62-71740

HOSE,(GREEN)

7

205-62-74530

HOSE,(WHITE)

8

07230-20210

UNION

8

07230-10210

UNION

9

07235-10210

ELBOW

10

07002-01423

O-RING

11

07235-10210

ELBOW

12

07002-01423

O-RING

13

07235-50210

ELBOW

14

07042-30108

PLUG

15

07002-01423

O-RING

16

21T-06-11950

CLIP

17

205-62-71890

BRACKET

18

01010-81225

BOLT

18

01010-51225

BOLT

19

01643-31232

WASHER

20

21T-06-11950

CLIP

21

01010-81225

BOLT

21

01010-51225

BOLT

22

01643-31232

WASHER

Выбрано товаров: 26