Запчасти Komatsu PW220-7E0 ПРОБЛЕСК. МАЯК И ЗАДН. РАБОЧ. ОСВЕЩЕНИЕ (КРЫША) K OPERATORґS ОБСТАНОВКА И СИСТЕМА УПРАВЛЕНИЯ

Схема запчастей Komatsu PW220-7E0 - ПРОБЛЕСК. МАЯК И ЗАДН. РАБОЧ. ОСВЕЩЕНИЕ (КРЫША) K OPERATORґS ОБСТАНОВКА И СИСТЕМА УПРАВЛЕНИЯ
1
2
3
5
4
7
8
6
9
FIT
1:1
100%

Артикул

Название

Примечание

Количество

1

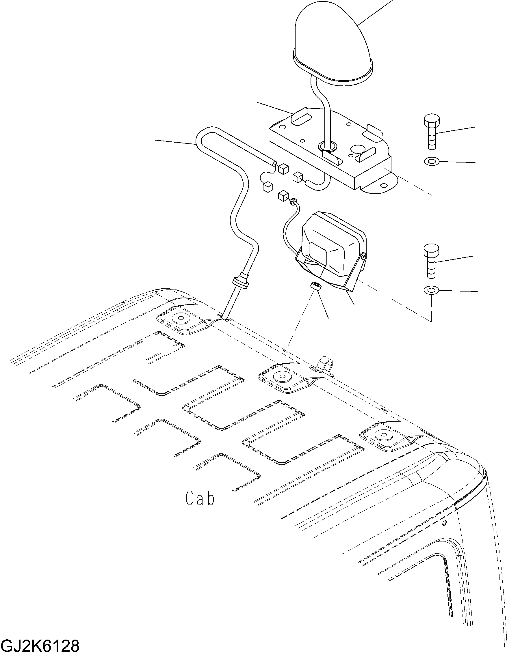
20G-06-31330

LAMP, BEACON

2

20G-54-34650

BRACKET

3

01010-D1220

BOLT

4

01643-71232

WASHER

5

20Y-54-54121

WIRING HARNESS

6

22B-54-17511

WORK LAMP ASSEMBLY

|$7

421-06-23330

BULB, 70W

7

01010-D1025

BOLT

8

01643-71032

WASHER

9

560-43-15220

WASHER

Выбрано товаров: 10