Запчасти Komatsu PW220-7H OPERATORґS КАБИНА (КОНТРОЛЛЕР И РЕЛЕS) K OPERATORґS ОБСТАНОВКА И СИСТЕМА УПРАВЛЕНИЯ

Схема запчастей Komatsu PW220-7H - OPERATORґS КАБИНА (КОНТРОЛЛЕР И РЕЛЕS) K OPERATORґS ОБСТАНОВКА И СИСТЕМА УПРАВЛЕНИЯ
5
4
9
8
6
7
9
10
8
16
15
14
11
12
13
1
2
3
FIT
1:1
100%

Артикул

Название

Примечание

Количество

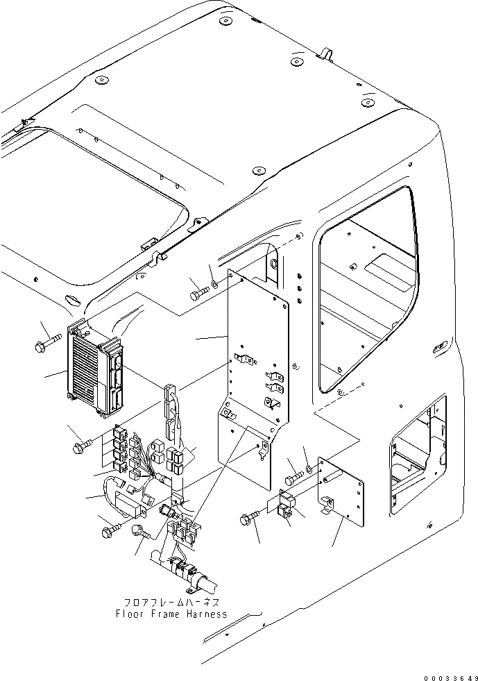
1

208-53-12860

PLATE

2

01010-80816

BOLT

3

01643-30823

WASHER

4

7835-24-4002

CONTROLLER

5

01435-00885

BOLT

6

7861-94-3000

RESISTOR

7

01435-00816

BOLT

8

569-06-61960

RELAY

8

287-06-16420

HOLDER

9

01435-00610

BOLT

10

8233-06-3350

DIODE

11

20J-54-11210

PLATE

12

01010-80816

BOLT

13

01643-30823

WASHER

14

198-911-9240

RELAY

15

20Y-979-6771

RELAY

16

01435-00610

BOLT

Выбрано товаров: 0