Запчасти Komatsu PW30-1 ЦИЛИНДР РУКОЯТИ РАБОЧЕЕ ОБОРУДОВАНИЕ

Схема запчастей Komatsu PW30-1 - ЦИЛИНДР РУКОЯТИ РАБОЧЕЕ ОБОРУДОВАНИЕ
FIT
1:1
100%

Артикул

Название

Примечание

Количество

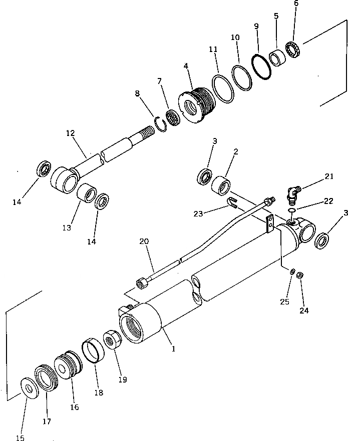
|$0

20S-63-66300

CYLINDER ASS'Y,ARM

1

20S-63-66340

CYLINDER

2

07143-10404

BUSHING

3

07145-00040

SEAL,DUST

4

707-29-80190

HEAD,CYLINDER

5

07177-04025

BUSHING

6

707-51-40210

PACKING,ROD

7

198-63-75190

SEAL,DUST

8

07179-00059

RING,SNAP

9

07000-12085

O-RING

10

07001-02085

RING,BACK-UP

11

707-45-80010

LOCK,LOCK

12

20S-63-56320

ROD,PISTON

13

07143-10404

BUSHING

14

07145-00040

SEAL,DUST

15

707-40-80180

RETAINER

16

707-36-80180

PISTON

17

707-44-80080

RING,PISTON

18

07155-00820

RING,WEAR

19

07165-13033

NUT

20

20S-63-66370

TUBE

21

07235-10315

ELBOW

22

07002-12034

O-RING

23

07283-21529

CLIP

24

01598-00809

NUT

25

01643-30823

WASHER

Выбрано товаров: 26