Запчасти Komatsu PW30-1 РУЛЕВ. УПРАВЛ. СИСТЕМА УПРАВЛЕНИЯ¤ ОСНОВНАЯ РАМА И ШАССИ

Схема запчастей Komatsu PW30-1 - РУЛЕВ. УПРАВЛ. СИСТЕМА УПРАВЛЕНИЯ¤ ОСНОВНАЯ РАМА И ШАССИ
FIT
1:1
100%

Артикул

Название

Примечание

Количество

|$0

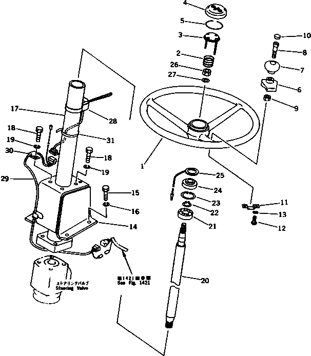
22W-40-11200

HANDLE ASS'Y

1

22W-40-11210

HANDLE

2

22W-40-11240

SPRING,HORN

3

22W-40-11230

CONTACT

4

22W-40-11220

BUTTON

5

22W-40-11250

LOCK

|$6

22W-40-11300

KNOB ASS'Y

6

22W-40-11311

STAY

6

22W-40-11310

STAY

7

22W-40-11321

KNOB

7

22W-40-11320

KNOB

8

22W-40-11330

BOLT

9

01580-11008

NUT

10

22W-40-11350

CAP

11

22W-40-11340

PLATE

12

01220-40625

SCREW

13

01602-20619

WASHER,SPRING

14

21E-40-11130

BRACKET

15

01010-51025

BOLT

16

01602-21030

WASHER,SPRING

17

21E-40-11121

COLUMN

18

01010-51045

BOLT

19

01602-21030

WASHER,SPRING

20

21E-40-11110

SHAFT

21

06002-06004

BEARING,BALL

22

04064-02012

RING,SNAP

23

04065-04218

RING,SNAP

24

20G-40-11221

SEAT

25

20G-40-11210

RING

26

01582-11210

NUT

27

01643-31232

WASHER

28

21E-06-11170

SWITCH,TURN SIGNAL

28

08075-50000

SWITCH,TURN SIGNAL

29

21E-06-13110

WIRE

30

08036-10814

CLIP

31

362-43-15360

BAND

Выбрано товаров: 36