Запчасти Komatsu PW30-1 РЫЧАГ УПРАВЛЕНИЯ ОТВАЛОМ (I.S.O. PATTERN) (КРОМЕ ЯПОН.) СИСТЕМА УПРАВЛЕНИЯ¤ ОСНОВНАЯ РАМА И ШАССИ

Схема запчастей Komatsu PW30-1 - РЫЧАГ УПРАВЛЕНИЯ ОТВАЛОМ (I.S.O. PATTERN) (КРОМЕ ЯПОН.) СИСТЕМА УПРАВЛЕНИЯ¤ ОСНОВНАЯ РАМА И ШАССИ
FIT
1:1
100%

Артикул

Название

Примечание

Количество

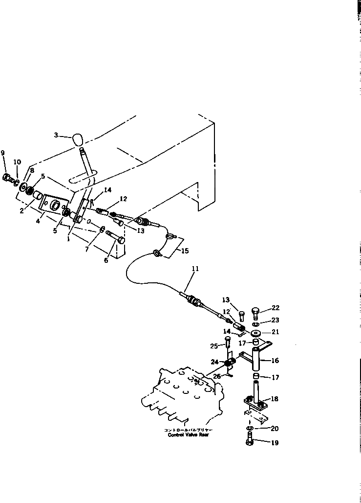
1

21F-43-15110

LEVER

2

09350-02020

BUSHING

3

20D-43-11370

KNOB

4

20S-43-22130

BRACKET

5

06122-02004

SEAL

6

20S-43-23250

BOLT

7

01602-21030

WASHER,SPRING

8

113-43-23230

WASHER

9

01010-50816

BOLT

10

01602-20825

WASHER,SPRING

11

103-43-25270

CABLE

12

04210-20500

YOKE

13

04205-10514

PIN

14

04050-11210

PIN,COTTER

15

08034-00519

BAND

16

21F-43-15120

LEVER

17

203-43-31420

BUSHING

18

21F-43-15130

BRACKET

19

01010-51025

BOLT

20

01602-21030

WASHER,SPRING

21

113-43-23230

WASHER

22

01010-50816

BOLT

23

01602-20825

WASHER,SPRING

24

21F-43-15140

YOKE

25

04205-10516

PIN

26

04050-11210

PIN,COTTER

Выбрано товаров: 26