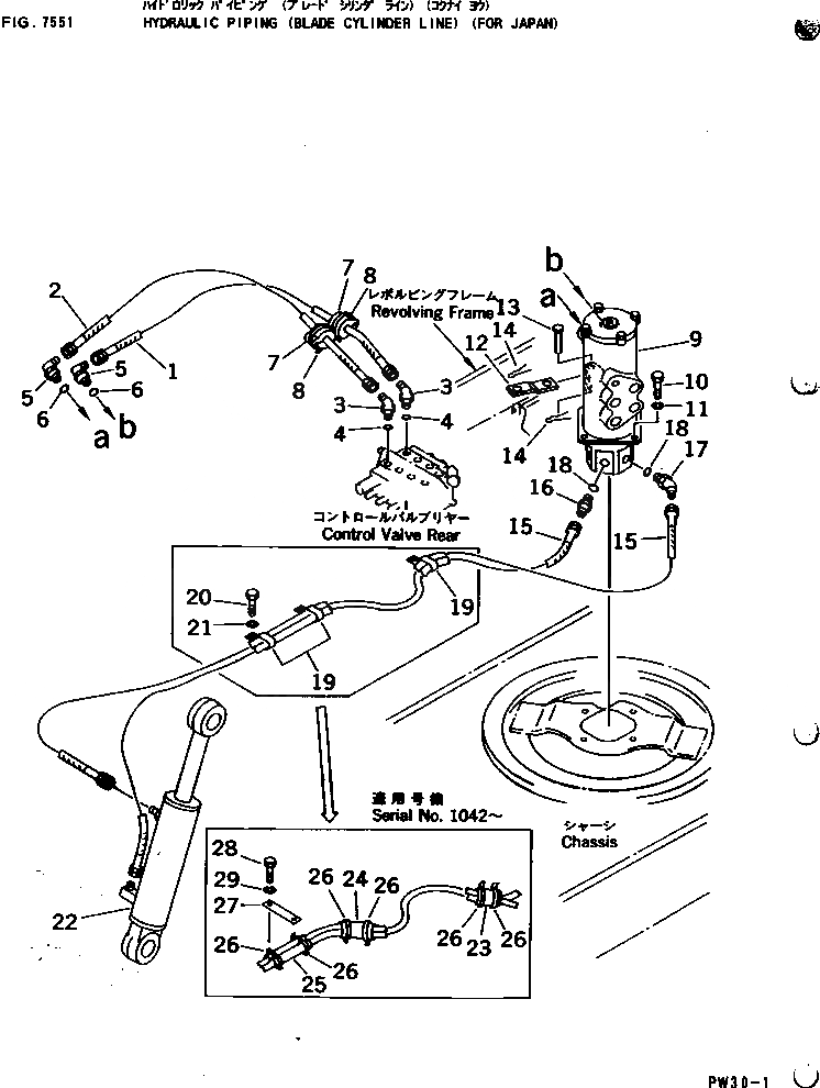
Запчасти Komatsu PW30-1 ГИДРОЛИНИЯ (ЦИЛИНДР ОТВАЛА ЛИНИЯ) (ДЛЯ ЯПОН.) РАБОЧЕЕ ОБОРУДОВАНИЕ

Схема запчастей Komatsu PW30-1 - ГИДРОЛИНИЯ (ЦИЛИНДР ОТВАЛА ЛИНИЯ) (ДЛЯ ЯПОН.) РАБОЧЕЕ ОБОРУДОВАНИЕ
FIT
1:1
100%

Артикул

Название

Примечание

Количество

1

07108-20311

HOSE

2

07108-20312

HOSE

3

21E-62-12220

ELBOW

4

07000-12014

O-RING

5

20R-62-22270

ELBOW

6

07002-12034

O-RING

7

202-981-1360

BUSHING

8

08034-00519

BAND

9

703-08-13111

SWIVEL JOINT ASS'Y,(SEE FIG.6151)

10

01010-51230

BOLT

11

01602-21236

WASHER,SPRING

12

20S-60-11210

PLATE

13

201-60-11230

PIN

14

04052-01664

PIN,SNAP

15

07108-20316

HOSE

|15

07108-20315

HOSE

16

20T-62-56710

UNION

17

20R-62-21131

ELBOW

18

07002-11823

O-RING

19

101-04-12260

CLIP

20

01010-51020

BOLT

21

01602-21030

WASHER,SPRING

22

21E-63-02010

CYLINDER ASS'Y,BLADE (SEE FIG.7541)

23

203-62-41150

COVER

24

20B-62-32180

COVER

25

201-03-51320

SEAT

26

08034-00519

BAND

27

20S-62-11730

PLATE

28

01010-51020

BOLT

29

01602-21030

WASHER,SPRING

Выбрано товаров: 30