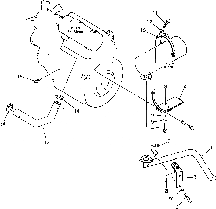
Запчасти Komatsu PW30-1 КОМПОНЕНТЫ ДВИГАТЕЛЯ(№-) КОМПОНЕНТЫ ДВИГАТЕЛЯ И ЭЛЕКТРИКА

Схема запчастей Komatsu PW30-1 - КОМПОНЕНТЫ ДВИГАТЕЛЯ(№-) КОМПОНЕНТЫ ДВИГАТЕЛЯ И ЭЛЕКТРИКА
FIT
1:1
100%

Артикул

Название

Примечание

Количество

1

21E-01-11171

PIPE,EXHAUST

2

21E-01-11181

BRACKET

|2

21E-01-11180

BRACKET

3

21E-01-11191

BRACKET

|3

21E-01-11190

BRACKET

4

01010-51025

BOLT

5

01602-21030

WASHER,SPRING

6

01643-31032

WASHER

7

20R-01-27160

CLAMP

8

01010-51020

BOLT

9

01602-21030

WASHER,SPRING

10

20R-01-27220

CLAMP

11

01010-50830

BOLT

12

01602-20825

WASHER,SPRING

13

20S-01-21120

HOSE

14

07281-00709

CLAMP

15

07042-20211

PLUG

Выбрано товаров: 17