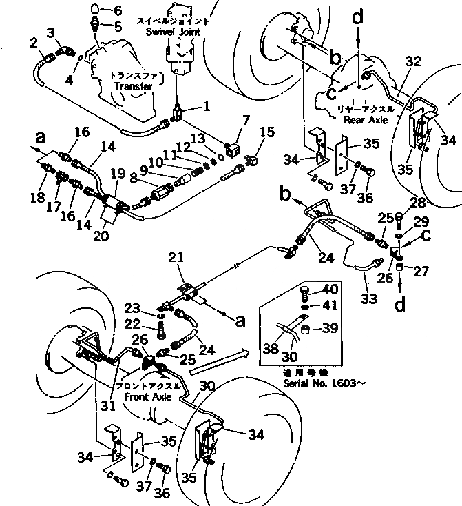
Запчасти Komatsu PW30-1 ТОРМОЗНАЯ ГИДРОЛИНИЯ (/) СИСТЕМА УПРАВЛЕНИЯ¤ ОСНОВНАЯ РАМА И ШАССИ

Схема запчастей Komatsu PW30-1 - ТОРМОЗНАЯ ГИДРОЛИНИЯ (/) СИСТЕМА УПРАВЛЕНИЯ¤ ОСНОВНАЯ РАМА И ШАССИ
FIT
1:1
100%

Артикул

Название

Примечание

Количество

1

21E-43-17462

ELBOW

|1

21E-43-17461

ELBOW

2

21E-62-14570

HOSE

|2

07108-20205

HOSE

|2

07108-20305

HOSE

3

20N-63-66190

ELBOW

|3

07235-10315

ELBOW

4

07002-12034

O-RING

5

20B-27-11210

BLEEDER

6

362-43-18170

CAP

7

21E-43-17470

ELBOW

|8

23S-60-15320

VALVE ASS'Y,CHECK

8

23S-60-15330

BODY

9

23S-60-15340

VALVE

10

700-72-31210

SPRING

11

23S-60-15350

PLATE

12

04065-01210

RING,SNAP

13

07002-02034

O-RING

14

21E-62-14570

HOSE

|14

07108-20205

HOSE

15

234-60-22672

ELBOW

16

07238-10210

CONNECTOR

17

21E-43-17490

VALVE

18

21E-43-17540

NIPPLE

19

203-62-41150

COVER

20

08034-00519

BAND

21

21E-43-17531

TUBE

22

01010-51020

BOLT

23

01602-21030

WASHER,SPRING

24

07108-20204

HOSE

25

21E-43-17450

NIPPLE

26

362-43-18740

JOINT

27

201-03-29160

SPACER

28

01010-50835

BOLT

29

01602-20825

WASHER,SPRING

30

21E-43-17411

TUBE,L.H.¤ FRONT

31

21E-43-17421

TUBE,R.H.¤ FRONT

32

21E-43-17441

TUBE,L.H.¤ REAR

33

21E-43-17431

TUBE,R.H.¤ REAR

34

21E-43-17551

BRACKET

35

21E-43-17560

COVER

36

01010-51225

BOLT

37

01643-31232

WASHER

38

21F-43-19190

CLIP

39

201-03-29160

SPACER

40

01010-50835

BOLT

41

01643-30823

WASHER

Выбрано товаров: 47