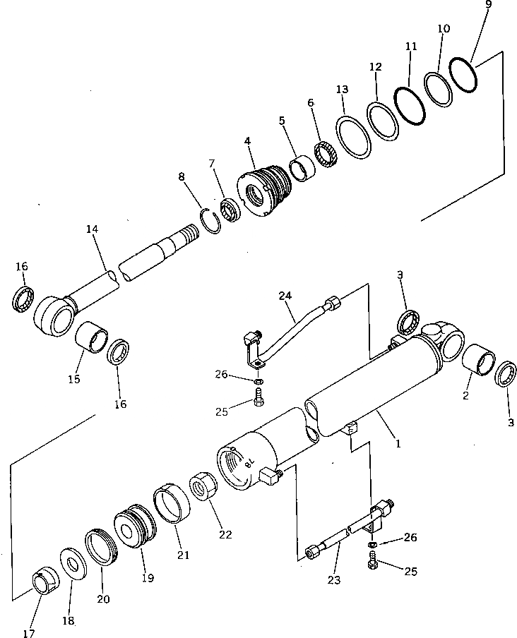
Запчасти Komatsu PW30T-1 ЦИЛИНДР СТРЕЛЫ РАБОЧЕЕ ОБОРУДОВАНИЕ

Схема запчастей Komatsu PW30T-1 - ЦИЛИНДР СТРЕЛЫ РАБОЧЕЕ ОБОРУДОВАНИЕ
FIT
1:1
100%

Артикул

Название

Примечание

Количество

|1

20R-63-56500

CYLINDER ASS'Y,BOOM

1

20R-63-56540

CYLINDER

2

07143-10404

BUSHING

3

07145-00040

SEAL,DUST

4

707-29-80130

HEAD,CYLINDER

5

07177-04025

BUSHING

6

707-51-40210

PACKING,ROD

7

198-63-75190

SEAL,DUST

8

07179-00059

RING,SNAP

9

07000-12075

O-RING

10

07146-02076

RING,BACK-UP

11

07000-12085

O-RING

12

07001-02085

RING,BACK-UP

13

707-45-80010

LOCK,LOCK

14

20R-63-56520

ROD,PISTON

15

07143-10404

BUSHING

16

07145-00040

SEAL,DUST

17

707-71-50580

PLUNGER

18

707-40-80480

RETAINER

19

707-36-80550

PISTON

20

707-44-80080

RING,PISTON

21

07155-00820

RING,WEAR

22

07165-12729

NUT

23

20R-63-56570

TUBE

24

20R-63-56580

TUBE

25

01010-51025

BOLT

26

01643-31032

WASHER

Выбрано товаров: 27